EasyManua.ls Logo

FlightSafety LEARJET 45 - ELECTRIC FOOTWARMER HEAT SYSTEM (COCKPIT)

Default Icon
539 pages
Print Icon
To Next Page IconTo Next Page
To Next Page IconTo Next Page
To Previous Page IconTo Previous Page
To Previous Page IconTo Previous Page
Loading...
ELECTRIC
FOOTWARMER HEAT
SYSTEM (COCKPIT)
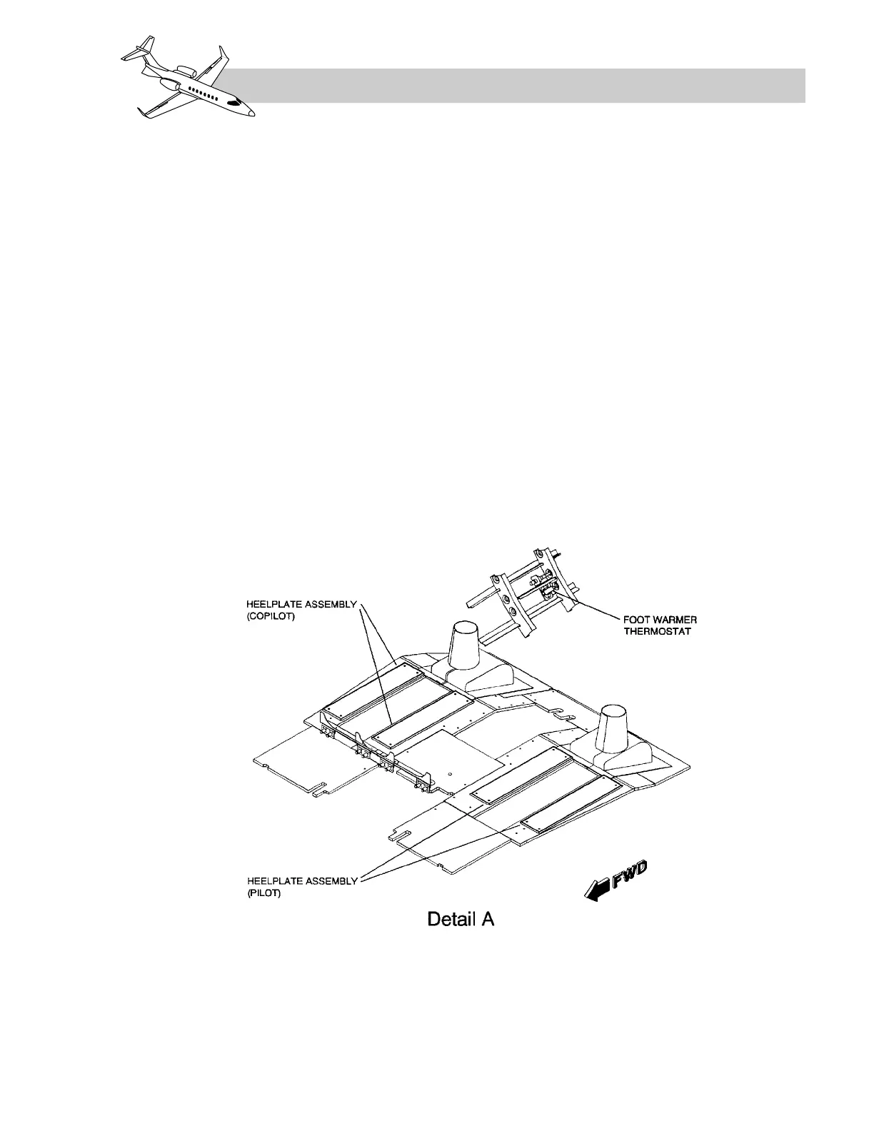
The electric footwarmer heat system provides
electrical heat from heelplate assemblies in-
stalled on the flightdeck floorboard below
each rudder pedal (Figure 11-12). The elec-
trical assemblies provide heat to the pilot and
copilot rudder pedal areas whenever the flight
compartment temperature drops below 60° F
(15.6° C).
The electrical footwarmer heat system consists
of a circuit breaker, thermostat, and four
heelplate assemblies. Each heelplate consists
of three heater blankets, a heelplate, and as-
sociated wiring. The thermostat is mounted in
a bracket located behind the copilot’s aft kick-
panel. The circuit breaker is located on the
copilot’s circuit breaker panel.
Power is applied through the FOOT WARM
circuit breaker to the thermostat. If the ther-
mostat senses temperatures above 60° F (15.6°
C), the thermostat opens removing electrical
power from the heelplate. Once the thermostat
senses temperatures below 60° F (15.6° C), the
thermostat closes applying power to the
heelplate.
11-13
FOR TRAINING PURPOSES ONLY
LEARJET 45 PILOT TRAINING MANUAL
FlightSafety
international
Figure 11-12. Electric Footwarmer Heat System Component Locator

Table of Contents