EasyManua.ls Logo

Fuji Electric frenic mini series - Page 202

Fuji Electric frenic mini series
306 pages
To Next Page IconTo Next Page
To Next Page IconTo Next Page
To Previous Page IconTo Previous Page
To Previous Page IconTo Previous Page
Loading...
9.2 Details of Function Codes
9-17
Chap. 9 FUNCTION CODES
F07 Acceleration Time 1 Refer to E10.
F08 Deceleration Time 1 Refer to E11.
F07 specifies the acceleration time from 0 to the maximum frequency in Hz. F08 specifies the
deceleration time from the maximum frequency to 0 in Hz.
- Data setting range: 0.00 to 3600 (sec.)
Selecting an S-shaped pattern or curvilinear acceleration/deceleration pattern by
function code H07 (Gradual acceleration/deceleration pattern) will make the
actual acceleration/deceleration times longer than the set ones. Refer to the
descriptions of function code H07.
Setting shorter acceleration/deceleration times than is necessary may make the
actual acceleration/deceleration time longer than the set ones, as the current limit
or regenerative braking suppression facility may be activated.
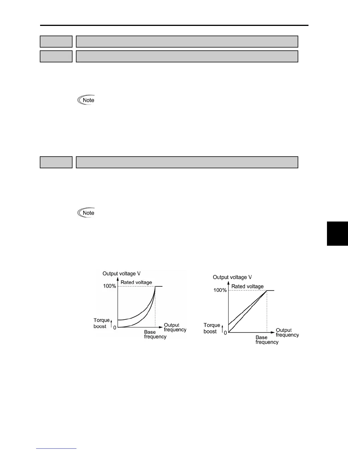
F09 Torque Boost
Specifies the torque boost rate to boost the voltage component in the V/f pattern for
compensating magnetic flux shortage of the motor resulting from the voltage drop across the
primary resistance of the motor in the low frequency zone.
- Data setting range: 0.0 to 20.0 (%) (The set voltage at base frequency for F05 is 100%.)
Set an appropriate torque boost rate that will keep the starting torque of the motor
within the voltage level in the low frequency zone. Setting an excessive torque
boost rate may result in over-excitation or overheat of the motor during no load
operation.
The F09 data setting is effective for auto torque boost/auto energy saving
operations specified by function code F37 being set to 0, 1, 3, or 4.
Variable torque characteristics (F37 = 0)
Constant torque characteristics (F37 = 1)

Table of Contents

Other manuals for Fuji Electric frenic mini series

Related product manuals