EasyManua.ls Logo

FujiFilm NXT - Page 39

FujiFilm NXT
162 pages
Print Icon
To Next Page IconTo Next Page
To Next Page IconTo Next Page
To Previous Page IconTo Previous Page
To Previous Page IconTo Previous Page
Loading...
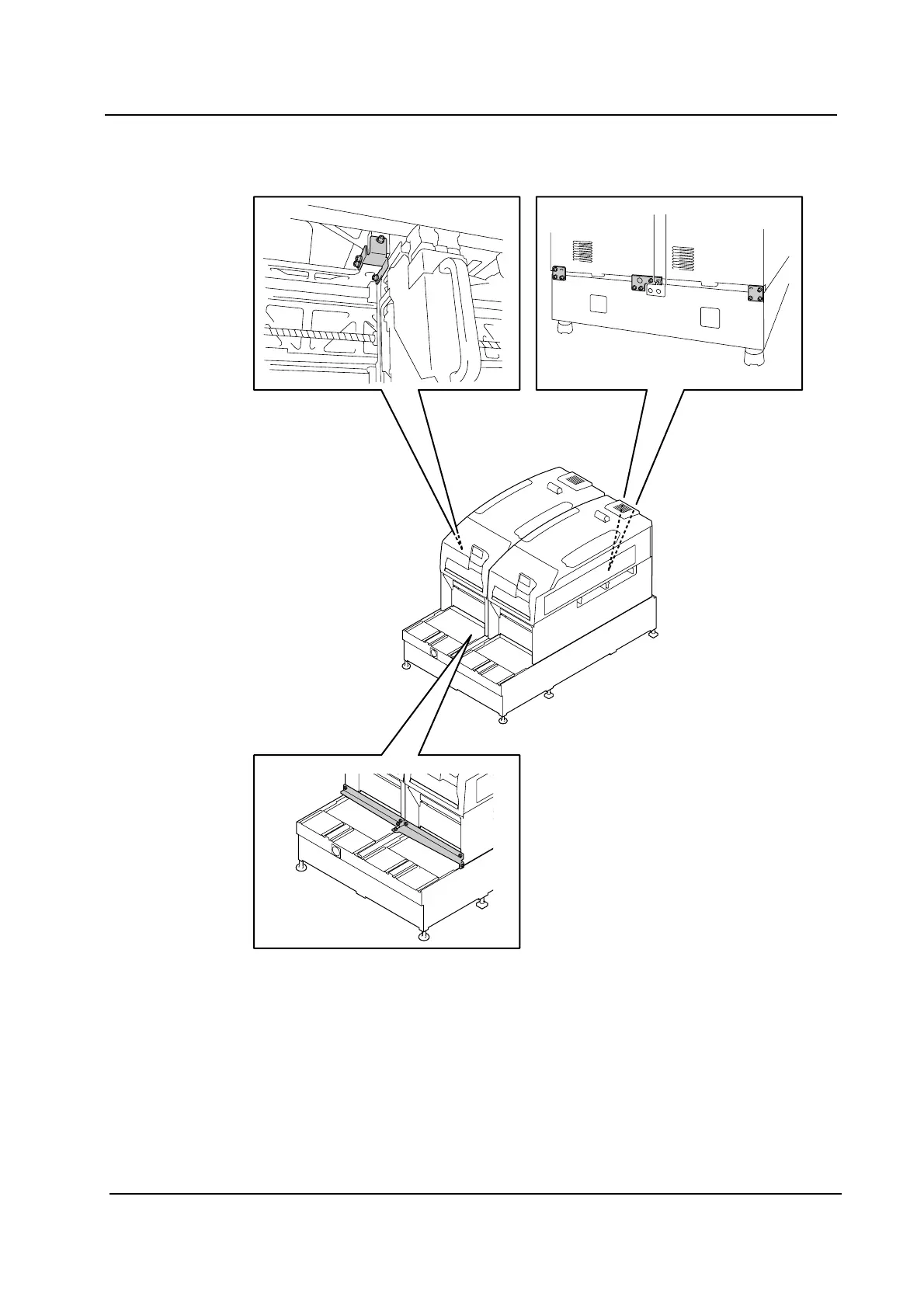
QD002-07 3. Machine Set Up
NXT Setup Manual 31
NXTSET216Ea
<For M6 (M6S) Modules>

Table of Contents