EasyManua.ls Logo

FujiFilm NXT - Page 65

FujiFilm NXT
162 pages
Print Icon
To Next Page IconTo Next Page
To Next Page IconTo Next Page
To Previous Page IconTo Previous Page
To Previous Page IconTo Previous Page
Loading...
QD002-07 3. Machine Set Up
NXT Setup Manual 57
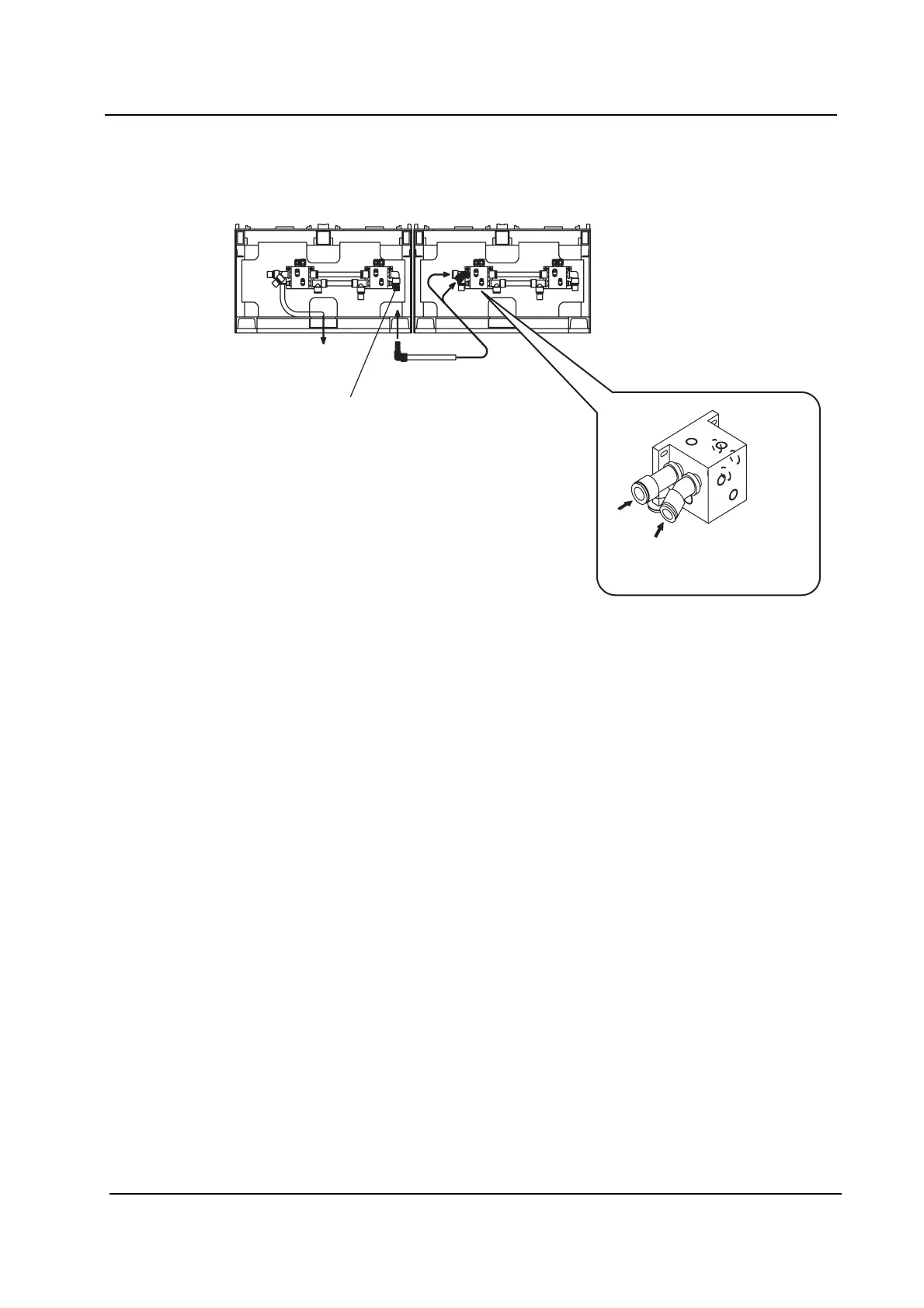
Pneumatic Connections
Connecting the Bases
After attaching the signal cables and pneumatic connections, fasten neighboring bases
using the special bracket. Refer to section 3.8.13 "Fastening Extensions" for details.
Remove the two plugs and attach
the T2 tube elbow connector.
T2 tubes (2)
To stand-alone
control box
Front view
Left side base Right side base
NXTSET021E
Remove the plugs from these
two locations, and then connect
the T2 tubes.

Table of Contents