EasyManua.ls Logo

GE Multilin 850 - Page 362

GE Multilin 850
616 pages
Print Icon
To Next Page IconTo Next Page
To Next Page IconTo Next Page
To Previous Page IconTo Previous Page
To Previous Page IconTo Previous Page
Loading...
4–230 850 FEEDER PROTECTION SYSTEM – INSTRUCTION MANUAL
PROTECTION CHAPTER 4: SETPOINTS
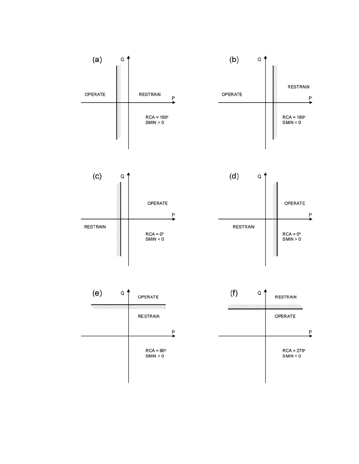
Figure 4-96: Sample applications of the Directional Power element

Table of Contents

Related product manuals