EasyManua.ls Logo

Generex CS121L - Page 111

Generex CS121L
166 pages
Print Icon
To Next Page IconTo Next Page
To Next Page IconTo Next Page
To Previous Page IconTo Previous Page
To Previous Page IconTo Previous Page
Loading...
109
Mini DIN 8 socket RS-232:
Pin1: -> DCD
Pin2: -> RxD
Pin3: -> TxD
Pin4: -> DTR
Pin5: -> DSR
Pin6: -> RTS
Pin7: -> CTS
Pin8: -> RI
Schirm -> GND
RS-485 (optional):
Pin1: -> RS485/B(+)
Pin5: -> RS485/A(-)
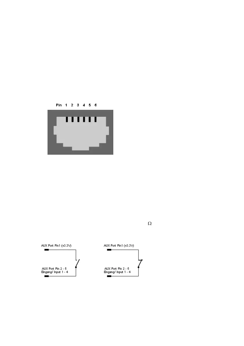
Figure 142: AUX-Port (Hardware Revision 1.1 = from Serial numbers 0121-
1203, 0122-00198, 0123-00564 onwards) RJ11 6-pol
Pin1: -> +3,3V
Pin2: -> Input/Output 1
Pin3: -> Input/Output 2
Pin4: -> Input/Output 3
Pin5: -> Input/Output 4
Pin6: -> GND
The maximum input voltage is 3,3V. The input signals may be fed from external power sources
or feed directly from Pin 1. If the external power supply delivers more than 3,3V a pre-resistor
has to be fitted. The input resistance of the input is 1,5 k
When using a opto coupler switch, a Pull up resistor of 1,5kOhm has to be used.
Output-voltage: If configured as OUTPUT, every Pin delivers 3.3 Volt/10mA.
Figure 143: Example (Inputs): Opener or closer contact (only on hardware
model CS121)

Table of Contents

Related product manuals