EasyManua.ls Logo

Generic Race 50 - Front Suspension

Generic Race 50
209 pages
Print Icon
To Next Page IconTo Next Page
To Next Page IconTo Next Page
To Previous Page IconTo Previous Page
To Previous Page IconTo Previous Page
Loading...
117
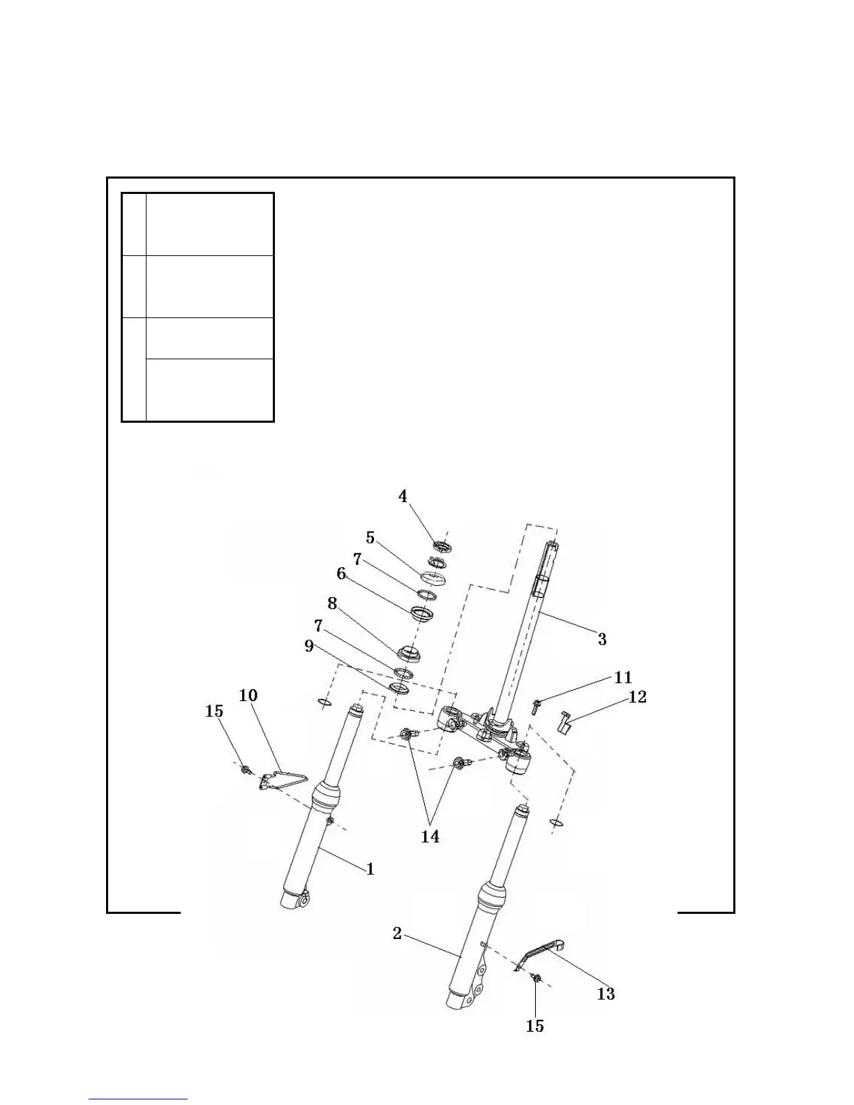
Front suspension
1 Front right before shock absorber 2 front left shock absorber lockwasher 3 down yoke plate seal
components 4 pinched nut 5 dustproof shade 6 siamesed steel bowl 7 steel ball φ5 8 down bearings,
up steel bowls 9 down bearings, down steel bowls 10 odometer line clamps 11 bolts M6 × 12 12
A
Installed torque
value in the map of
bolt 11: 5-9 N.m
B
Installed torque
value in the map of
bolt 14:40-60 N • m
The number of steel
ball on the top: 21
C
The number of steel
ball on the bottom:
21

Table of Contents

Related product manuals