EasyManua.ls Logo

HandTop HT2500UV - Rear view of the printer

HandTop HT2500UV
71 pages
Print Icon
To Next Page IconTo Next Page
To Next Page IconTo Next Page
To Previous Page IconTo Previous Page
To Previous Page IconTo Previous Page
Loading...
12
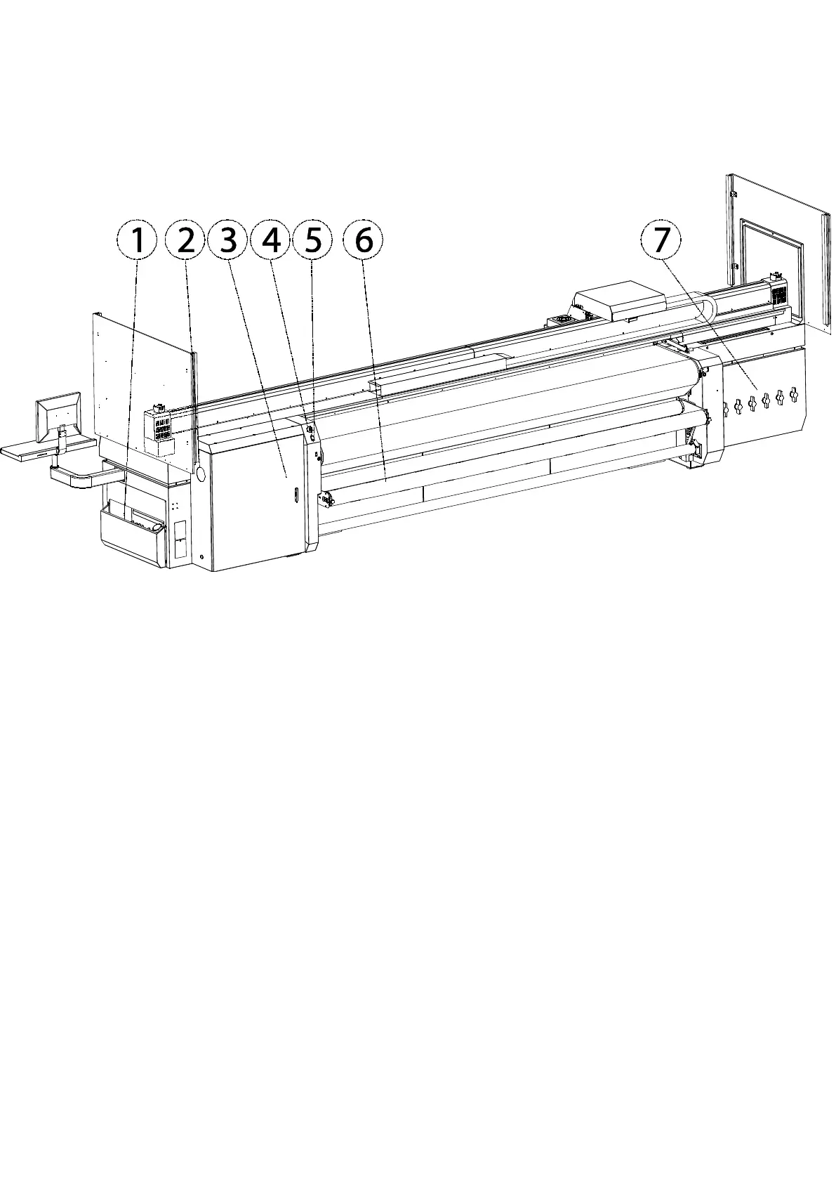
5.2 Rear view of the printer
1. Main Ink Tank Tray
2. Main Power Switch
3. Electric Box
4. Media Take-up Speed Switch
5. Media Take-up Direction Switch
6. Media Feeding Roller
7. Suction Control Panel

Table of Contents