EasyManua.ls Logo

Hitachi PH - Page 255

Hitachi PH
288 pages
Print Icon
To Next Page IconTo Next Page
To Next Page IconTo Next Page
To Previous Page IconTo Previous Page
To Previous Page IconTo Previous Page
Loading...
8-2 Indications Given When a Warning Condition/Fault Occurs
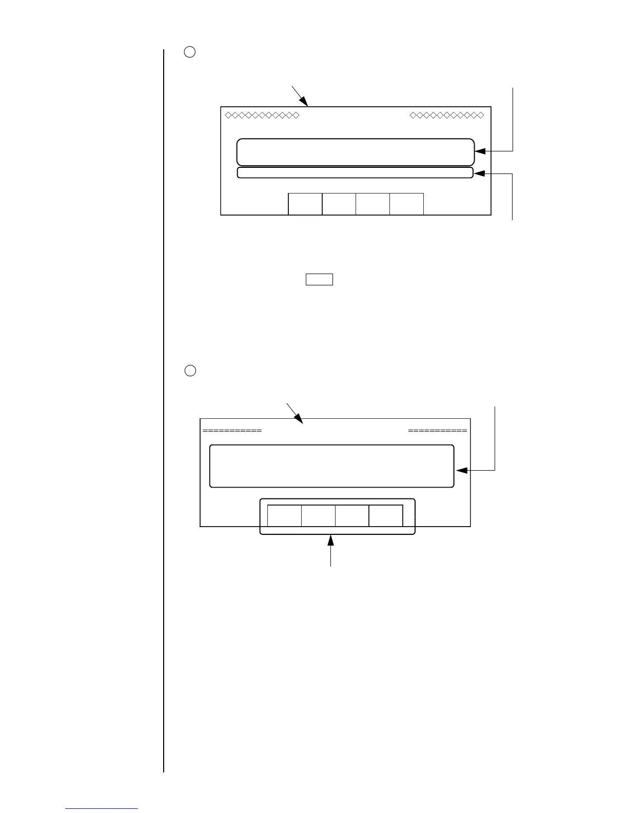
If a warning condition occurs
2
The name of the warning condition is displayed here.
A message of the warning condition is given here.
The cause of the warning condition is indicated here.
When you press Close , the alarm window clears but the warning condition
persists. The alarm display area (see the figure above) indicates the warning
condition name.
When the warning condition is cleared, the warning indication automatically
goes off.
If an operating error occurs or the system prompts for process judgment
3
The name of the situation to be
confirmed is displayed here.
A message of the situation to be
confirmed is given here.
Remedies are indicated here.
The contents of confirmation messages are described together with the
associated operating procedures.
XXXXXXXXXXXXXXXXXX
XXXXXXXXXXXXXXXXXXXXXXXXXXXXXXXXXXXX
XXXXXXXXXXXXXXXXXXXXXXXXXXXXXXXXXXXX
XXXXXXXXXXXXXXXXXXXXXXXXXXXXXXXXXXXX
XXXXXXXXXXXXXXXXXXXXXXXXXXXXXXXXXXXX
Cause
Solution
Close
XXXXXXXXXXXXXXXXXX
XXXXXXXXXXXXXXXXXXXXXXXXXXXXXXXXXXXX
XXXXXXXXXXXXXXXXXXXXXXXXXXXXXXXXXXXX
Solution

Table of Contents

Related product manuals