EasyManua.ls Logo

Honeywell Sensepoint XCD - Set Modbus

Honeywell Sensepoint XCD
85 pages
To Next Page IconTo Next Page
To Next Page IconTo Next Page
To Previous Page IconTo Previous Page
To Previous Page IconTo Previous Page
Loading...
Sensepoint XCD Technical Manual SPXCDHMANEN Issue 15
53
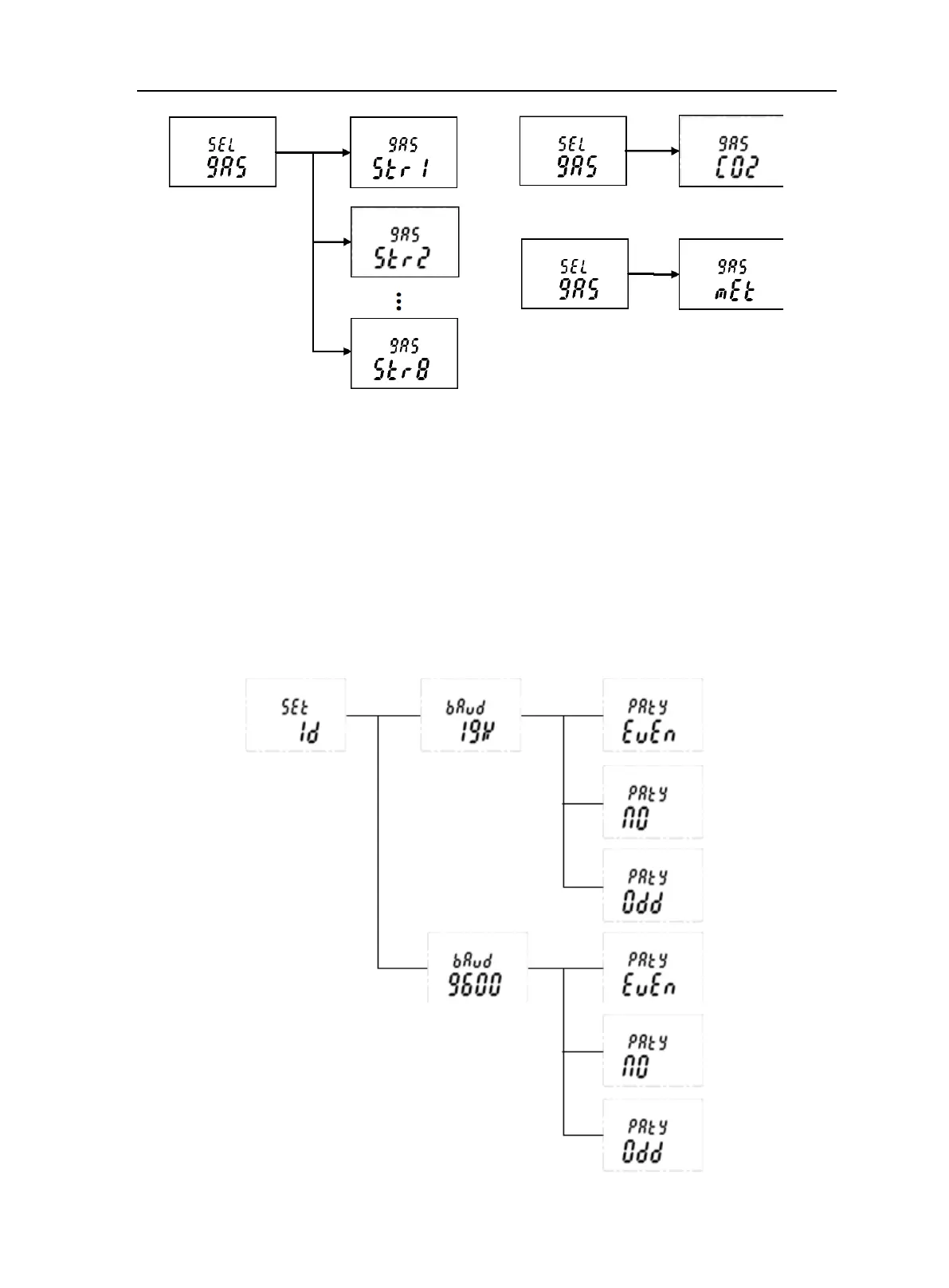
Diagram 18 Gas Selection
12.3.3. Set Modbus
Set id->Set Modbus slave ID->Set Baud rate->Set Parity
1. Slave ID shall be set 1~247
2. Baud rate setting 9600 or 19200
3. Parity setting (No, Even, Odd)
From the Configuration Mode screen, select ’. To set the Modbus Slave ID, use the up-down
▲▼’switches to move to the desired position and use to select it. Again, using the ▲▼’switches,
increment or decrement the value until the desired value appears, selects the value and moves to the
next setting.

Other manuals for Honeywell Sensepoint XCD

Related product manuals