EasyManua.ls Logo

Hsun HS700UTV - Removal; Installation

Default Icon
150 pages
Print Icon
To Next Page IconTo Next Page
To Next Page IconTo Next Page
To Previous Page IconTo Previous Page
To Previous Page IconTo Previous Page
Loading...
GENERAL INFORMATION
1-28
mark or number facing outward.
Removal
While bearing are normally removed only when
damaged, there may be times when it is necessary to
remove a bearing that is in good condition. However,
improper bearing removal will damage the bearing and
possibly the shaft or case. Note the following when
removing bearings:
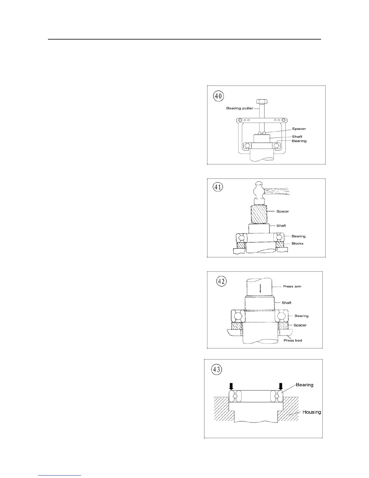
1. When using a puller to remove a bearing from a
shaft, take care that the shaft is not damaged.
Always place a piece of metal between the end of
the shaft and the puller screw. In addition, place
the puller arms next to the inner bearing race. See
Figure 40.
2. When using a hammer to remove a bearing from a
shaft. do not strike the hammer directly against the
shaft. Instead, use a brass or aluminum rod
between the hammer and shaft (Figure 41) and
make sure to support both bearing races with
wooden blocks as shown.
3. The ideal method of bearing removal is with a
hydraulic press. Note the following when using a
press:
a. Always support the inner and outer bearing
races with a suitable size wooden or
aluminum spacer (Figure 42). If only the
outer race is supported, pressure applie
against the balls and/or the inner race will
damage them.
b. Always make sure the press arm (Figure 42)
aligns with the center of the shaft. If the arm
is not centered, it may damage the bearing
and/or shaft.
c. The moment the shaft is free of the bearing.
It drops to the floor. Secure or hold the shaft
to prevent it from falling.
Installation
1. When installing a bearing in a housing, apply
pressure to the outer bearing race (Figure 43).
When installing a bearing on a shaft, apply pressure

Table of Contents