EasyManua.ls Logo

Invacare Comet - Page 70

Invacare Comet
76 pages
Print Icon
To Next Page IconTo Next Page
To Next Page IconTo Next Page
To Previous Page IconTo Previous Page
To Previous Page IconTo Previous Page
Loading...
70
Footrests
ONE-PIECE FOOTBOARD OR ARTICULATING
FOOTPLATES.
1. Remove the four (4) socket screws that secure
the one-piece footboard or the articulating
footplates to the wheelchair.
2. Reposition the one-piece footboard or the ar-
ticulating footplates to the opposite end of the
wheelchair.
3. Adjust the one-piece footboard or the articulating
footplates to the necessary height, angle and
depth. Refer to ADJUSTING/INSTALLING THE
ONE-PIECE FOOTBOARD or ADJUSTING/
INSTALLING THE ARTICULATING FOOT-
PLATES in PROCEDURE 1 of this manual.
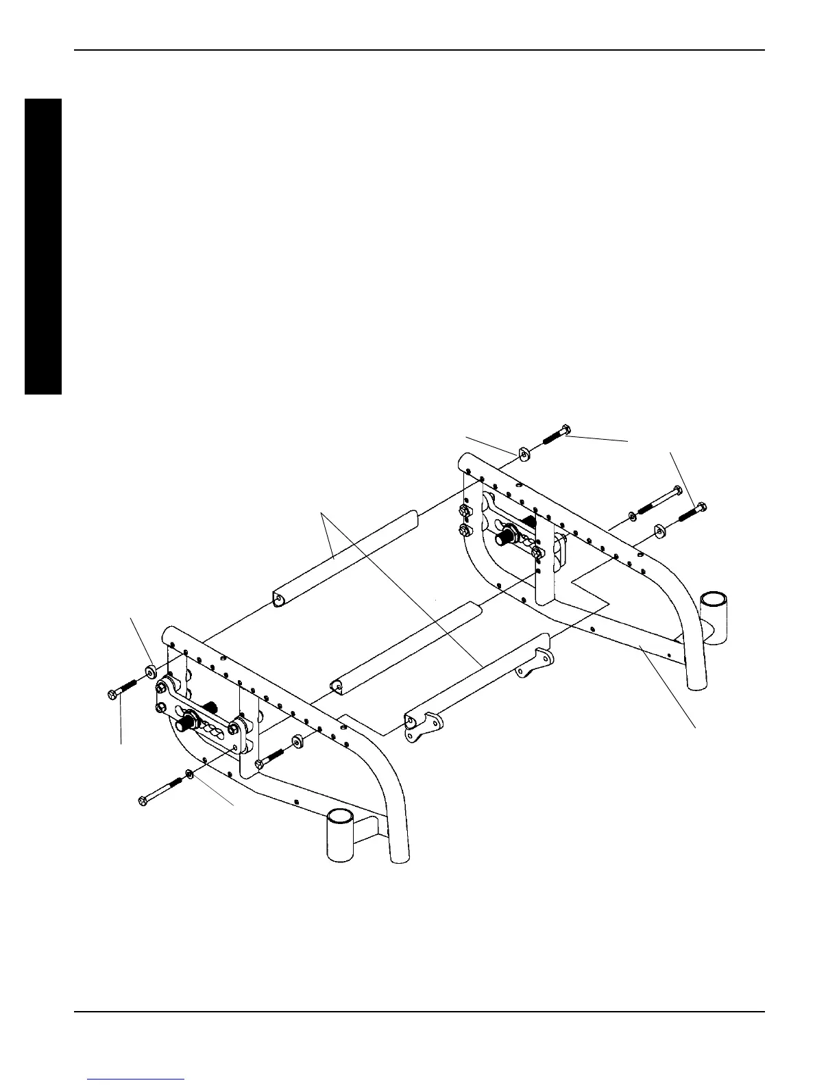
SWING UNDER/NON-SWING UNDER
FOOTBOARD.
1. Remove the four (4) hex screws, washers and
coved washers that secure the top two (2)
crossmembers to the wheelchair frame.
2. Switch the position of each crossmember (each
crossmember is opposite of where it was origi-
nally).
3. Secure the crossmembers to the wheelchair with
the existing four (4) hex screws, washers and
coved washers. Refer to FIGURE 2 for correct
hardware orientation.
Coved Washer
Hex Screws
Wheelchair
Frame
Crossmembers
Coved Washer
Washer
Hex Screws
FIGURE 2 - REPOSITIONING THE CROSSMEMBERS FOR THE SWING UNDER FOOTBOARD
C
O
N
V
E
R
T
I
N
G
PROCEDURE 9 CONVERTING

Table of Contents

Other manuals for Invacare Comet

Related product manuals