EasyManua.ls Logo

Invacare Comet - Page 72

Invacare Comet
76 pages
Print Icon
To Next Page IconTo Next Page
To Next Page IconTo Next Page
To Previous Page IconTo Previous Page
To Previous Page IconTo Previous Page
Loading...
72
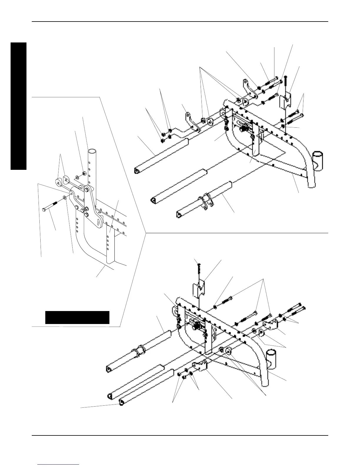
STANDARD POSITION
Hex
Screws
Seat guide
Mounting
Screw
Mini-Tilt
Crossmember
Wheelchair
Frame
Washers
REVERSED POSITION
Small/Large
Coved washer
Wheelchair
Frame
FIGURE 4 -CONVERTING WHEELCHAIR FRAME (MINI TILT)
Hex
Screws
Washer
Pivot Bracket
Washers
Locknuts
Washers
Pivot
Bracket
Small/Large
Coved washer
Small/Large
Coved washer
Locknuts
Washers
Rear
Crossmember
Hex
Screw
Locknut
Coved
Spacers
Pivot
Bracket
Seat/Back
Assembly
Seat guide
Mounting
Screw
Mini-Tilt
Crossmember
Rear
Crossmember
DETAIL "A"
Wheelchair Frame
(Standard Position Shown)
Pivot
Bracket
Washers
Rear Hex
Screw
Front Hex
Screw
Front Hex
Screw
Rear Hex
Screw
Vertical
Upright
Vertical
Upright
Vertical
Upright
Washer
Vertical
Upright
C
O
N
V
E
R
T
I
N
G
PROCEDURE 9 CONVERTING

Table of Contents

Other manuals for Invacare Comet

Related product manuals