EasyManua.ls Logo

INVT SV-DA200 - CN5 Wiring Diagram

INVT SV-DA200
286 pages
Print Icon
To Next Page IconTo Next Page
To Next Page IconTo Next Page
To Previous Page IconTo Previous Page
To Previous Page IconTo Previous Page
Loading...
SV-DA200 series AC servo drives Control mode applications
‐61‐
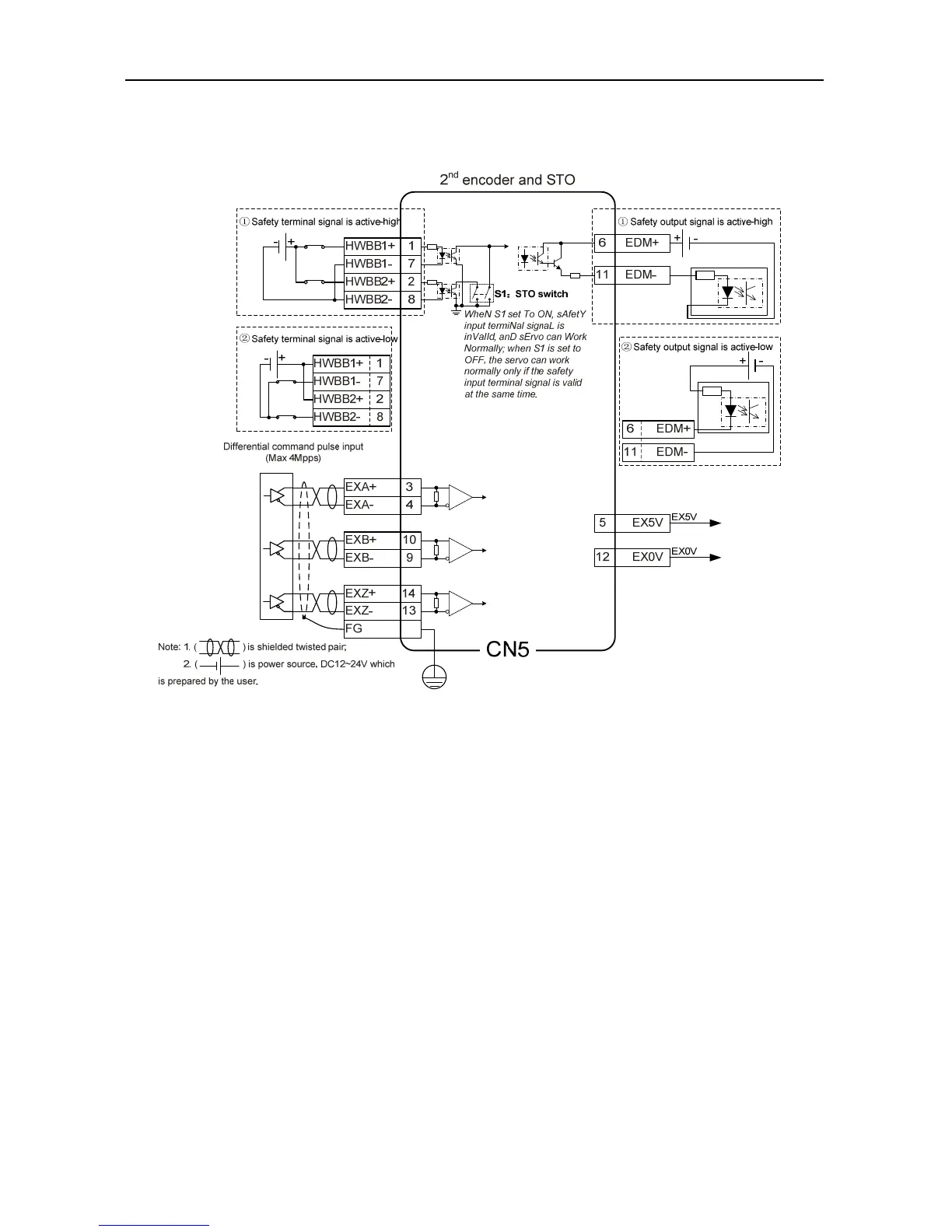
4.6 CN5 wiring diagram
4.6.1 CN5 wiring diagram of small power range (100W~5.5kW)

Table of Contents

Related product manuals