EasyManua.ls Logo

JUKI IT-100D - Page 36

JUKI IT-100D
122 pages
Print Icon
To Next Page IconTo Next Page
To Next Page IconTo Next Page
To Previous Page IconTo Previous Page
To Previous Page IconTo Previous Page
Loading...
– 33 –
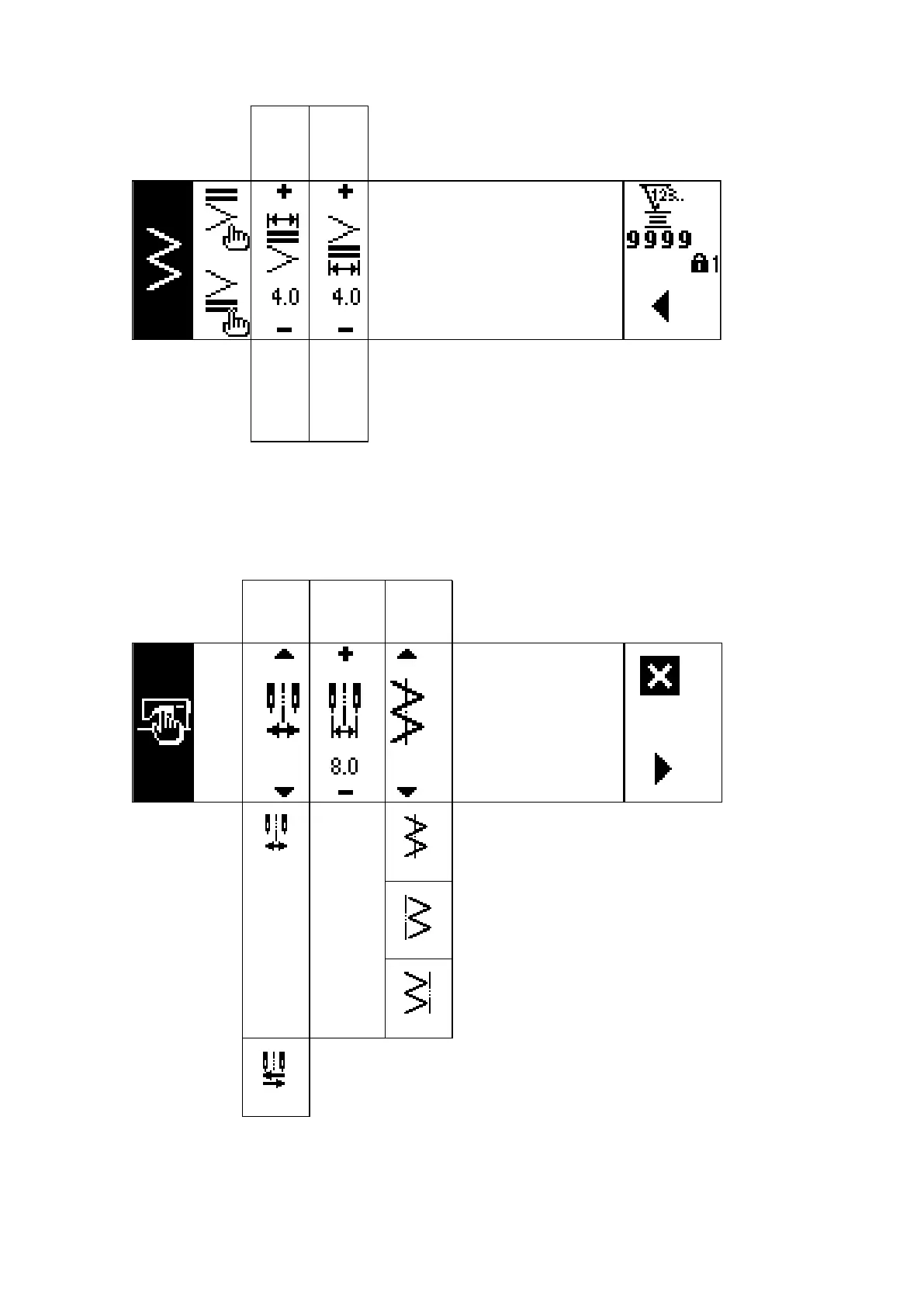
Reverse stitching setting second screen (Condensation custom)
■
Sewing common data setting rst screen (When max. zigzag width limitation is set in the
center)
*
When the limiting procedure of max. zigzag width limitation is set to “Left/Right”, the display of max.
zigzag width limitation value is separately indicated left and right.
0.0
to
10.0
0.0
to
10.0
Width
adjustment
at sewing
start
Width
adjustment
at sewing
end
0.0
to
10.0
Reference
of stitch
base line
Limiting
procedure
of max.zigzag
width limitation
Max.zigzag
width
limitation
value
Center
Center
Left
Right
Left/Right

Table of Contents

Related product manuals