EasyManua.ls Logo

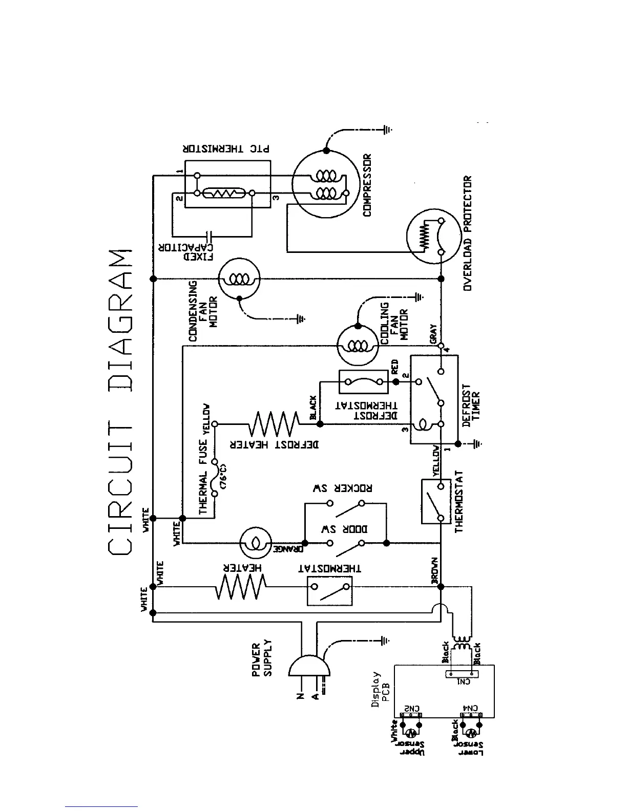
KitchenAid KUWS24LSBS - Wiring Diagrams; Wine Cellar Wiring Diagram

KitchenAid KUWS24LSBS
58 pages
Print Icon
To Next Page IconTo Next Page
To Next Page IconTo Next Page
To Previous Page IconTo Previous Page
To Previous Page IconTo Previous Page
Loading...
7-1
WIRING DIAGRAMS
WINE CELLAR WIRING DIAGRAM

Other manuals for KitchenAid KUWS24LSBS

Related product manuals