EasyManua.ls Logo

Komatsu 830E - Page 142

Komatsu 830E
783 pages
Print Icon
To Next Page IconTo Next Page
To Next Page IconTo Next Page
To Previous Page IconTo Previous Page
To Previous Page IconTo Previous Page
Loading...
D3-2 24VDC Electrical System Components D03026
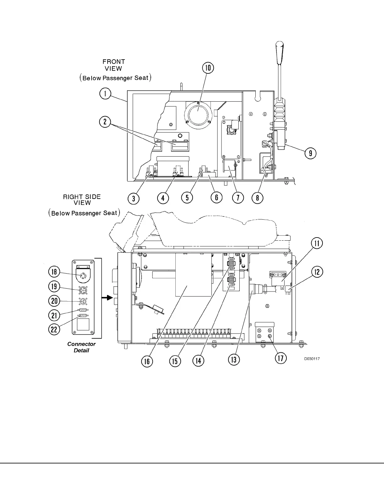
FIGURE 3-1. PASSENGER SEAT BASE COMPARTMENT
1. Seat Base
2. Tail Light Resistor/Diodes
(RD1/RD2)
3. Terminal Board (TB13)
4. Terminal Board (TB12)
5. Terminal Board (TB11)
6. 5 Minute Idle Timer
7. 5 Minute Idle Contactor
8. Inclinometer
9. Hoist Control
10. Compartment Service Light
11. Brake Warning Buzzer (BWB)
12. 5 Minute Idle Relay
13. Connector (RP226)
14. Connector (RP231)
15. Connector (RP230)
16. AID Module
17. Lube System Cycle Timer
18. Data Store Switch
19. QUANTUM Diagnostic Port
(Engine)
20. CENSE Diagnostic Port
(Engine)
21. G.E. Propulsion System
Diagnostic Port
22. For Optional Equipment

Table of Contents

Other manuals for Komatsu 830E

Related product manuals