EasyManua.ls Logo

Komatsu 830E - Installation

Komatsu 830E
783 pages
Print Icon
To Next Page IconTo Next Page
To Next Page IconTo Next Page
To Previous Page IconTo Previous Page
To Previous Page IconTo Previous Page
Loading...
N02014 04/03 Truck Cab N2-3
Installation
1. Lift cab assembly and align mounting pad holes
with tapped pads. Insert at least one capscrew
and hardened washer at each of the four pads
prior to lowering cab onto the truck.
NOTE: The tool group shipped with the truck
contains the following tools which may be used to
remove the inner capscrews, as clearance is limited:
PB8326 - 1-1/2" offset wrench
TZ2733 - Tubular Handle
TZ2734 - 3/4" torque wrench Adaptor
2. After cab is positioned, insert the remaining cap-
screws and hardened washers. (32 total).
Tighten the capscrews to 700 ft. lbs. (950 N.m)
torque.
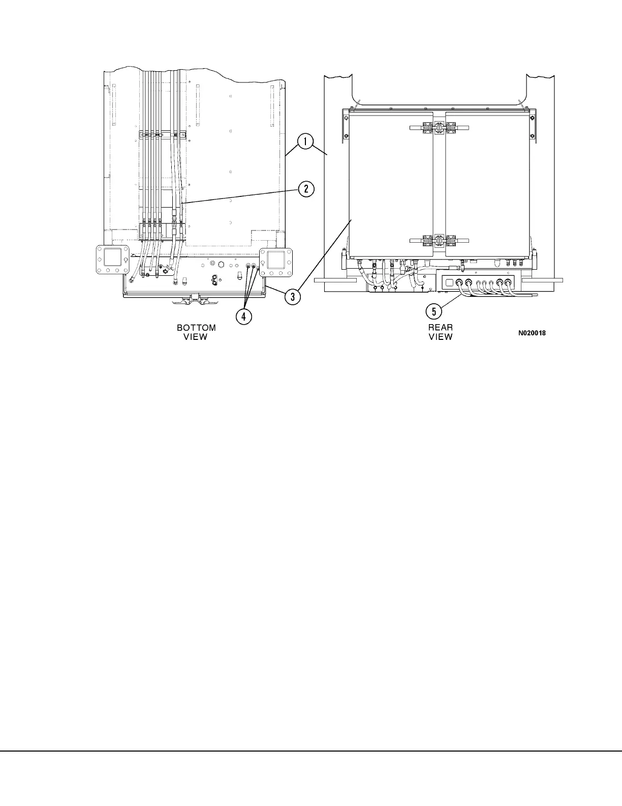
3. Route wire harnesses to the electrical connec-
tors on the rear corner of the cab (5, Figure 2-
2). Align cable connector plug key with recepta-
cle key and push plug onto receptacle. Carefully
thread retainer onto receptacle and tighten
securely. Install clamps if removed during cab
removal.
4. Remove caps from hydraulic hoses and tubes
and reinstall. Reinstall hose clamps as required.
5. Install heater hoses and clamps on fittings on
underside of cab. Connect other end of hose to
fittings at shutoff valves on engine. Open heater
shutoff valves. Connect air cleaner restriction
indicator hoses.
6. Remove caps and reinstall air conditioning sys-
tem hoses from compressor and receiver/drier.
7. Refer to Section M, "Heater/Air Conditioning
System" for detailed instructions regarding
evacuation and recharging with refrigerant.
8. Close brake accumulator bleed down valves.
9. Close battery disconnect switch.
10. Service hydraulic tank and engine coolant as
required.
11. Start the engine and verify proper operation of all
controls.
12. Assure air conditioning system is properly
recharged.
FIGURE 2-2. CAB HYDRAULIC AND ELECTRICAL CONNECTIONS
1. Cab
2. Steering Control Valve
3. Hydraulic Components Cabinet
4. Hoist Valve Hoses
5. Electrical Harness Connectors

Table of Contents

Other manuals for Komatsu 830E

Related product manuals