EasyManua.ls Logo

Komatsu 830E - Fuel Tank; Installation; Removal

Komatsu 830E
783 pages
Print Icon
To Next Page IconTo Next Page
To Next Page IconTo Next Page
To Previous Page IconTo Previous Page
To Previous Page IconTo Previous Page
Loading...
B2-4 Structural Components B02019
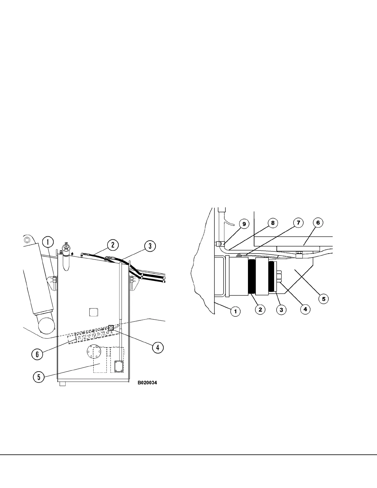
FUEL TANK
Removal
1. Raise truck body and install body safety cables.
2. Drain sediment from tank and dispose of prop-
erly. Drain remainder of fuel into clean contain-
ers.
3. Disconnect fuel tank wire harness and remove
clamps (9, Figure 2-4).
4. Remove ground wire (7).
5. Remove fuel supply (3, Figure 2-3) and return
hoses (2) and plug to prevent contamination.
6. Remove hydraulic filter assembly (5) mounting
hardware from fuel tank. Support filters by plac-
ing a chain over the frame rail. (It is not neces-
sary to disconnect hydraulic hoses.)
7. Attach lifting device to tank lift eyes.
8. Remove capscrews (4, Figure 2-4), and flat
washers (3).
9. Remove capscrews, lockwashers, and caps (1,
Figure 2-3) from upper mounting brackets.
10. Lift tank from brackets and move to work area.
11. Inspect rubber dampeners (2, Figure 2-4) and
replace, if necessary.
Installation
1. Lower tank into position over upper mounting
brackets.
2. Install caps, lockwashers, and capscrews at
upper mounting trunnions (1, Figure 2-3) and
tighten to 459 ft. lbs. (622 N.m) torque.
3. Install lower mount flatwashers (3, Figure 2-4)
and capscrews (4) and tighten to 310 ft. lbs.
(420 N.m) torque.
4. Attach ground wire, connect wire harness and
clamp in place.
5. Attach fuel supply (3, Figure 2-3) and return (2)
hoses.
6. Attach hydraulic filter (5) assembly to fuel tank.
7. Refill tank with clean fuel.
FIGURE 2-3. FUEL TANK
1. Upper Mount Trunnion
2. Fuel Return Hose
3. Fuel Supply Hose
4. Fuel Gauge
5. Hydraulic Filters
6. Lower Mounting
Bracket
1. Fuel Tank
2. Rubber Dampener
3. Flatwasher
4. Capscrew
5. Frame Bracket
6. Main Frame
7. Ground Wire
8. Wire Harness
9. Harness Clamp
FIGURE 2-4. FUEL TANK MOUNTING BRACKET
(Lower Mount)

Table of Contents

Other manuals for Komatsu 830E

Related product manuals