EasyManua.ls Logo

Komatsu 830E - Page 409

Komatsu 830E
783 pages
Print Icon
To Next Page IconTo Next Page
To Next Page IconTo Next Page
To Previous Page IconTo Previous Page
To Previous Page IconTo Previous Page
Loading...
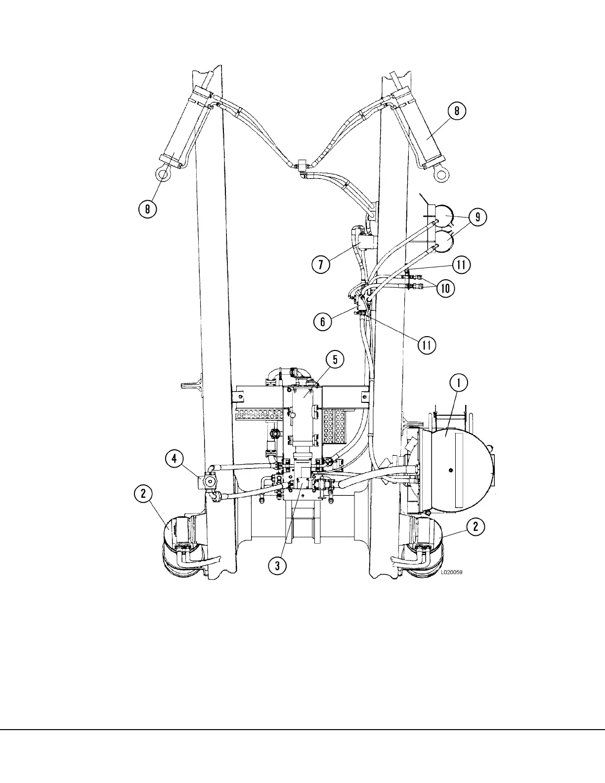
L02027 Hydraulic System L2-3
FIGURE 2-2. STEERING CIRCUIT COMPONENTS (VIEWED FROM BELOW TRUCK)
1. Hydraulic Tank
2. Hoist Cylinders
3. Steering / Brake Pump
4. Steering Circuit Filter
5. Hoist Circuit Pump
6. Bleeddown Manifold
7. Flow Amplifier
8. Steering Cylinders
9. Steering Accumulators
10. Steering Quick Disconnects
11. Brake Quick Disconnects
(For Jumper Hose)

Table of Contents

Other manuals for Komatsu 830E

Related product manuals