EasyManua.ls Logo

Komatsu 830E - Page 417

Komatsu 830E
783 pages
Print Icon
To Next Page IconTo Next Page
To Next Page IconTo Next Page
To Previous Page IconTo Previous Page
To Previous Page IconTo Previous Page
Loading...
L03026 7/02 Hydraulic Component Repair L3-7
Assembly
1. A suitable seal press ring or plug and two small
wood blocks should be available.
2. The following seal installation procedures are
outlined for use with a vise, but they can be
adapted for use with a press if one is available.
3. Open the vise jaws wide enough to accept the
combined thickness of the flange, wood blocks
and press ring.
4. Place the wood blocks flat against the fixed jaw
of the vise. Place the flange plate against the
blocks in such a position that the bearing pro-
jections are between the blocks and clear of the
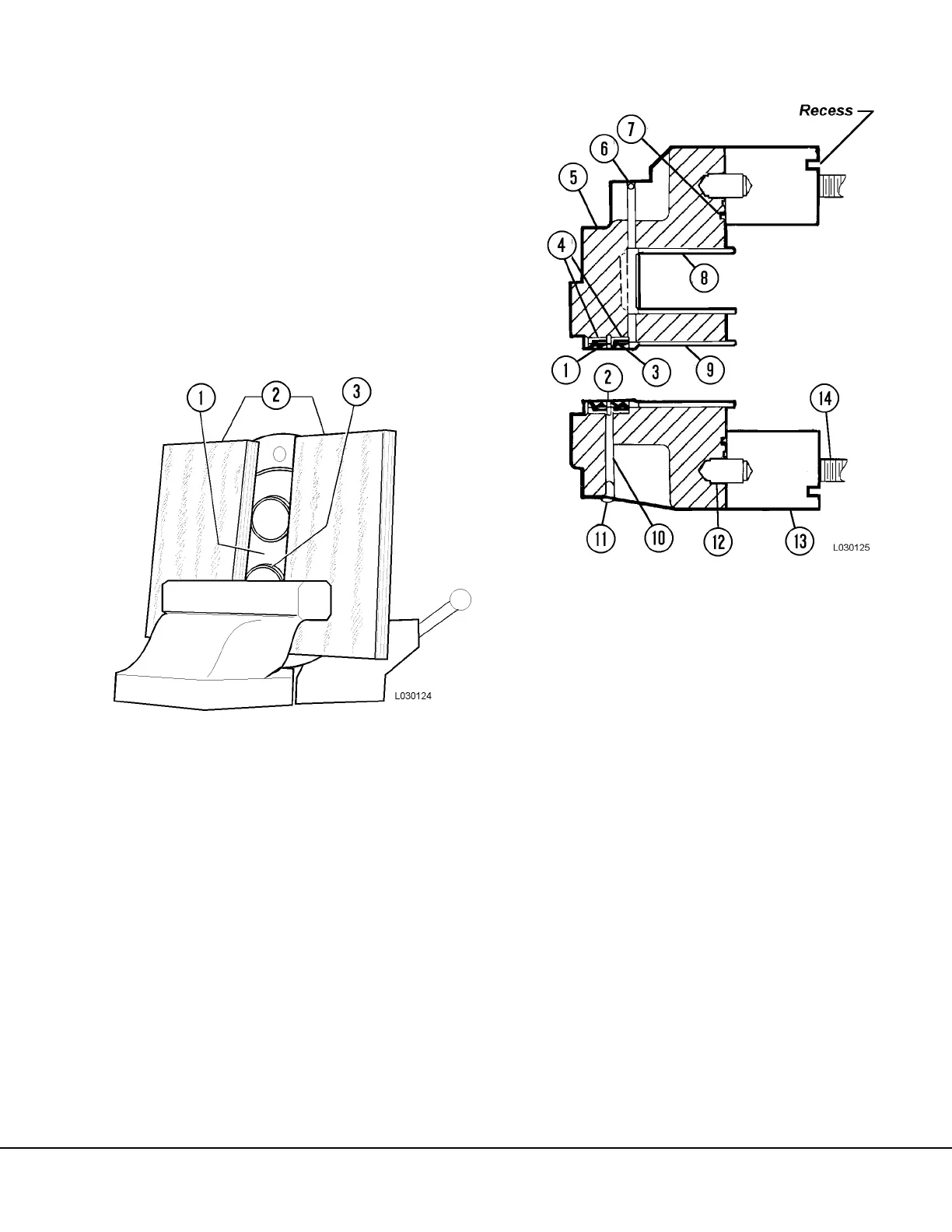
vise jaw, refer to Figure 3-8.
5. Lubricate the seals with hydraulic oil. Position
the inboard shaft seal (3, Figure 3-9) with the
metal face toward the outboard end of the
flange.
6. Position the press ring over the seal. Make sure
that the seal stays centered and true with the
bore, and start applying pressure with the vise.
Continue pressing the seal until it just clears the
snap ring groove in the bore.
7. Install snap ring (2, Figure 3-9). Make sure the
snap ring opening is over the weep hole (10).
8. Install the Outboard seal (metal face out), until it
just contacts the snap ring.
9. Lubricate the thru stud threads (14, Figure 3-9)
with hydraulic oil. Thread the studs into flange
until snug. There are 4 long studs and 4 short
studs. Reference Figure 3-10 for proper stud
location. Lubricate and install O-ring (7). Install
dowel pins (12), if removed. Install gear plate
(13). Make sure the recess in the gear plate will
be toward the connector plate, or facing up
when the gear plate is installed.
FIGURE 3-8. SHAFT SEAL INSTALLATION
1. Flange
2. Wood Blocks
3. Bearing Projection
FIGURE 3-9. SHAFT SEAL INSTALLATION
1. Outboard Shaft Seal
2. Snap Ring
3. Inboard Shaft Seal
4. Seal, Metal Face
5. Flange
6. Steel Ball
7. O-Ring
8. Bearing
9. Bearing
10. Weep Hole
11. Plug
12. Dowel
13. Gear Plate
14. Thru Studs

Table of Contents

Other manuals for Komatsu 830E

Related product manuals