EasyManua.ls Logo

Komatsu 830E - Page 545

Komatsu 830E
783 pages
Print Icon
To Next Page IconTo Next Page
To Next Page IconTo Next Page
To Previous Page IconTo Previous Page
To Previous Page IconTo Previous Page
Loading...
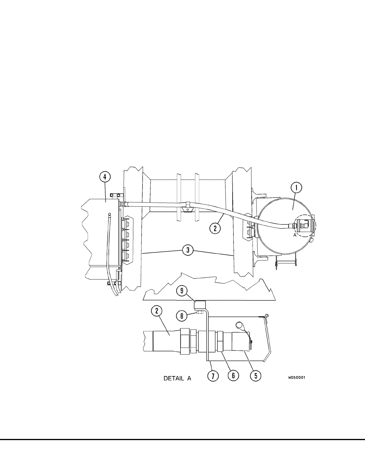
LEFT SIDE FILL
This location permits fueling the truck from the left side.
Keep the cap on the receiver to prevent dirt build up in
valve area and nozzle grooves. If fuel spills from tank
breather valve, or tank does not completely fill, check
breather valve to see that float balls are in place and
outlet screen is clean. If valve is operating properly, the
problem will be with the fuel supply system.
FIGURE 5-3. LEFT SIDE FILL
1. Hydraulic Tank 3. Frame Rails 5. Filler Cap 7. Refueling Box
2. Filler Hose 4. Fuel Tank 6. Receiver Assembly 8. Capscrew
9. Tapped Bar
NOTE: This Illustration Represents a Typical Installation. Installation may vary depending on truck model.
M05002 10/96 Wiggins Quick Fill Fuel System M5-3

Table of Contents

Other manuals for Komatsu 830E

Related product manuals