EasyManua.ls Logo

Lenze 9325 - Page 225

Lenze 9325
524 pages
Print Icon
To Next Page IconTo Next Page
To Next Page IconTo Next Page
To Previous Page IconTo Previous Page
To Previous Page IconTo Previous Page
Loading...
Function block library
7-108
SHB9300CRV EN 2.0
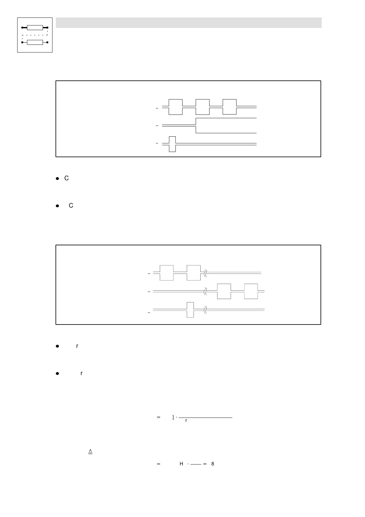
C0427 = 1
C0427 = 1
A
A
B
B
Z
Z
Fig. 7-75 Control of the direction of rotation by track B
l
CW rotation
Track A transmits the speed.
Track B=LOW (positive value at DFIN-OUT).
l
CCW rotation
Track A transmits the speed.
Track B=HIGH (negative value at DFIN-OUT).
C0427 = 2
C0427 = 2
A
A
B
B
Z
Z
Fig. 7-76 Control of speed and direction of rotation via track A or track B
l
CW rotation
Track A transmits the speed and the direction of rotation (positive value at DFIN-OUT).
–TrackB=LOW
l
CCW rotation
Track B transmits the speed and the direction of rotation (negative value at DFIN-OUT).
–TrackA=LOW
Transmission function
DFIN-OUT [rpm]
f[Hz]
ô
60
Increments_from_C0425
Example:
Input frequency = 200 kHz
C0425 = 3 (
of an increment of 2048 inc/rev)
DFIN-OUT [rpm]
200000 Hz
ô
60
2048
5859 rpm
Show/Hide Bookmarks

Table of Contents

Related product manuals