EasyManua.ls Logo

Lenze 9325 - Signal Conversion (CONV)

Lenze 9325
524 pages
Print Icon
To Next Page IconTo Next Page
To Next Page IconTo Next Page
To Previous Page IconTo Previous Page
To Previous Page IconTo Previous Page
Loading...
Function block library
7-85
SHB9300CRV EN 2.0
7.6.20 Signal conversion (CONV)
Purpose
These function blocks can be used to standardize signals or signal types or to convert signal types
into different signal types.The conversion is very precise by providing the conversion factor as
numerator and denominator.
CONV1
CONV1
CONV1-OUT
CONV1-IN
C0943
C0942
C0940
C0941
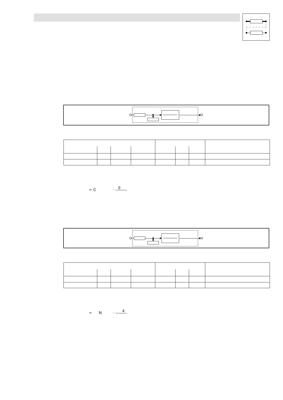
Fig. 7-57 Function block CONV1
Signal
Source Note
Name Type DIS DIS format CFG List Lenze
CONV1-IN a C0943 dec [%] C0942 1 1000
CONV1-OUT a - - - - - Limited to ±199.99 %
This function block is used to multiply or divide analog signals.
The conversion is done according to the formula:
CONV1–OUT
CONV1–IN
ô
C0940
C0941
Example:
An analog signal is to be multiplied with 1.12.
For this, enter C0940 = 112 and C0941 = 100.
CONV2
CONV2
CONV2-OUT
CONV2-IN
C0948
C0947
C0945
C0946
Fig. 7-58 Function block CONV2
Signal
Source Note
Name Type DIS DIS format CFG List Lenze
CONV2-IN a C0948 dec [%] C0947 1 1000
CONV2-OUT a - - - - - Limited to ±199.99 %
This function block is used to multiply or divide analog signals.
The conversion is done according to the formula:
CONV2–OUT
CONV2–IN
ô
C0945
C0946
Show/Hide Bookmarks

Table of Contents

Related product manuals