EasyManua.ls Logo

Lightmed LightLas 532 - SL980 Slitlamp Parts List and Controls

Lightmed LightLas 532
115 pages
Print Icon
To Next Page IconTo Next Page
To Next Page IconTo Next Page
To Previous Page IconTo Previous Page
To Previous Page IconTo Previous Page
Loading...
LightLas 532 Operator's Manual Rev. No 01 Page 48 of 115
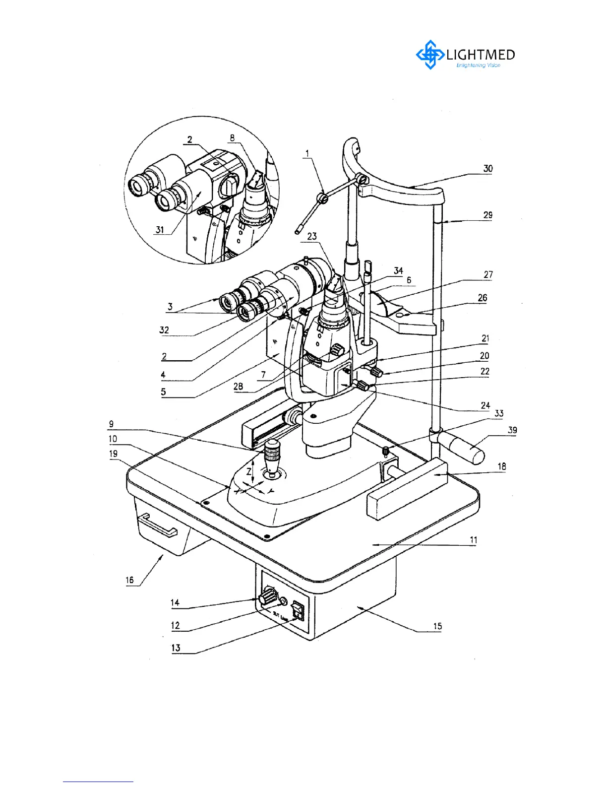
CSO SL980 Slitlamp Controls continues...
Figure 4.9 SL980 Slitlamp Parts List and Controls

Table of Contents

Other manuals for Lightmed LightLas 532

Related product manuals