EasyManua.ls Logo

Magnetrol Eclipse 706GWR - Physical Specifications - Coaxial Probes

Magnetrol Eclipse 706GWR
108 pages
Print Icon
To Next Page IconTo Next Page
To Next Page IconTo Next Page
To Previous Page IconTo Previous Page
To Previous Page IconTo Previous Page
Loading...
76
57-606 ECLIPSE Model 706 Guided Wave Radar Transmitter
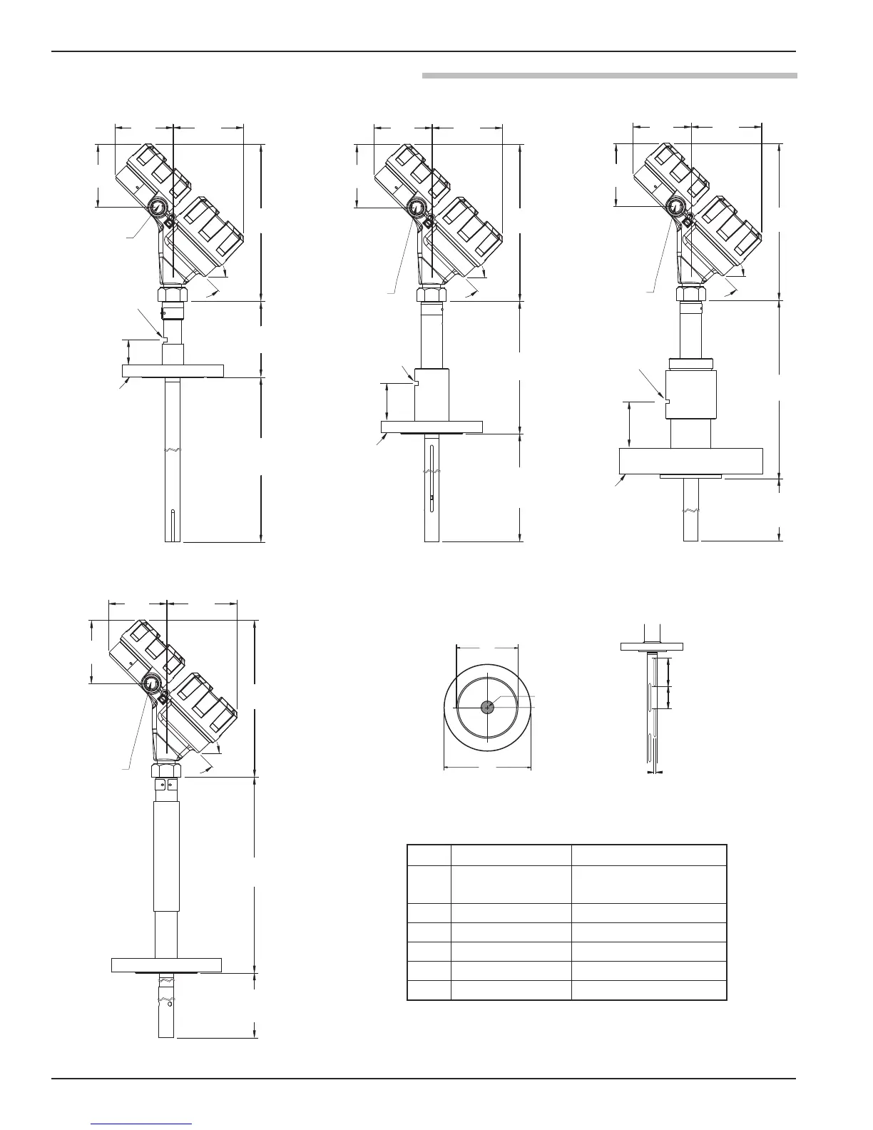
3.6.6 Physical Specifications Coaxial Probes
inches (mm)
Mounting
Flange
Optional
Flushing Port
3
.38
(86)
4
.18
(106)
3
.77
(96)
45°
9
.30
(236)
4
.46
(113)
Probe
Insertion
Length
2
cable
entries
1/4" NPT
3
.0 (76 mm)
typical
Model 7yT
with flanged connection
3
.38
(86)
4
.18
(106)
3
.77
(96)
45°
9
.30
(236)
2
cable
entries
7.76
(
197)
Probe
Insertion
L
ength
Mounting
Flange
1
/4" NPT
3.0 (76 mm)
t
ypical
Optional
Flushing Port
Model 7yP
with flanged connection
3.38
(86)
4.18
(106)
3.77
(96)
45°
9.30
(236)
2 cable
entries
11.55
(293)
Probe
Insertion
Length
Mounting
Flange
Model 7yS
with flanged connection
3
.38
(86)
4
.18
(106)
3
.77
(96)
45°
9
.30
(236)
2
cable
entries
10.45
(265)
Probe
Insertion
Length
M
ounting
F
lange
1
/4" NPT
3.0 (76 mm)
t
ypical
Optional
F
lushing Port
Model 7yD
with flanged connection
C
E
D
Coaxial Probe Slots
A
F
B
Coaxial GWR Probe,
End View
Dim. Small Diameter Enlarged (standard)
A
0.88 (22.5)
1.75 (45) - SST
1.92 (49) - HC and Monel
B
0.31 (8) 0.63 (16)
C
4.08 (100) 6.05 (153)
D
0.15 (4) 0.30 (8)
E
3.78 (96) 5.45 (138)
F
1.25 (32) ——

Table of Contents

Other manuals for Magnetrol Eclipse 706GWR

Related product manuals