EasyManua.ls Logo

Milltronics ACCUMASS BW500 - Setpoint Controller Configurations

Milltronics ACCUMASS BW500
141 pages
Print Icon
To Next Page IconTo Next Page
To Next Page IconTo Next Page
To Previous Page IconTo Previous Page
To Previous Page IconTo Previous Page
Loading...
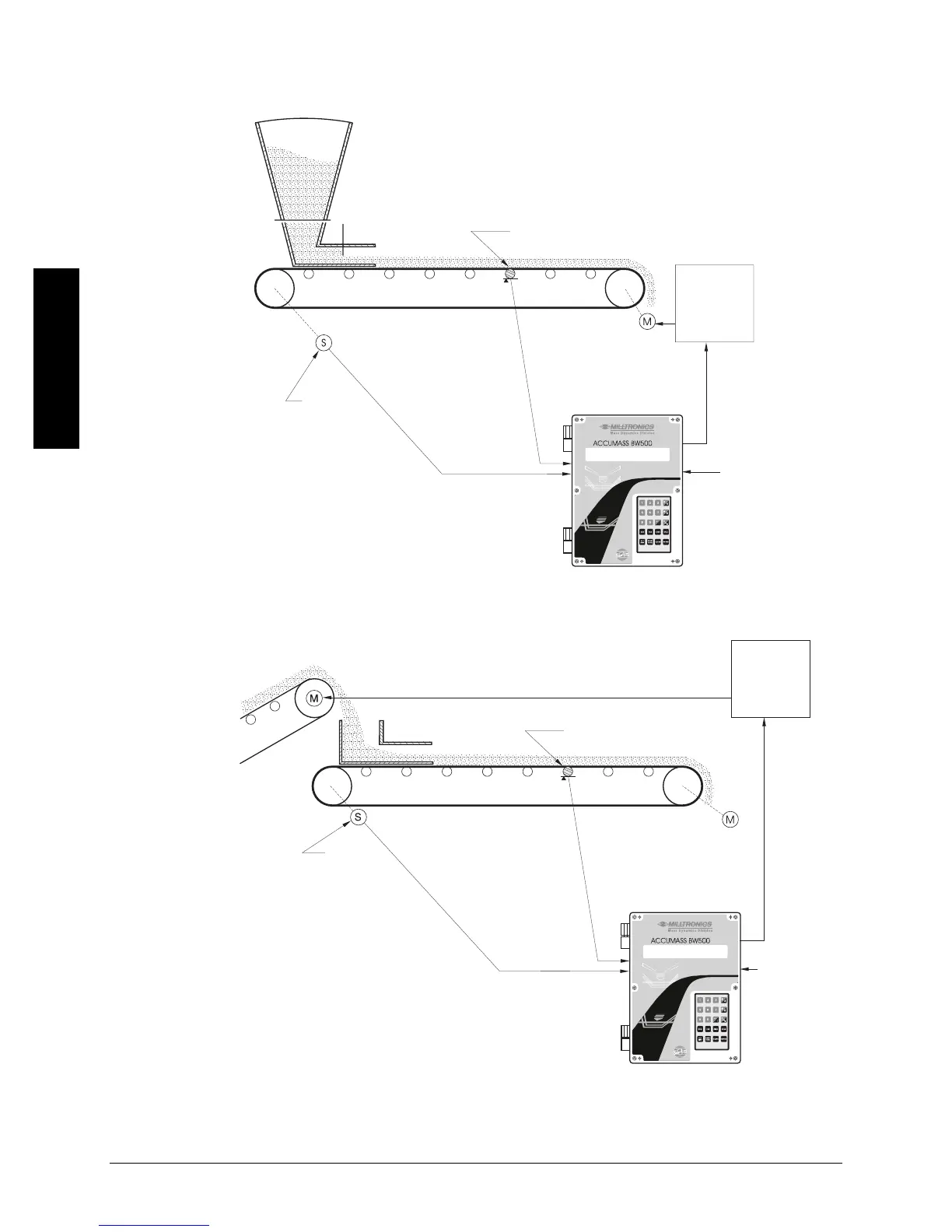
Page 96 Accumass BW500 PL-565
PID Control
Setpoint Controller Rate Control
Setpoint Controller Load Control
belt scale
speed
sensor
speed
load
control output
(P201-02 = 4)
optional remote
setpoint - rate
(P255-01 = 1 )
belt scale
speed
sensor
speed
load
control output
(P201-02 = 4)
optional remote
setpoint - load
(P255-01 = 1 )
PID 1 process value source -rate
(P402-01 = 1)
PID 1 process value source -load
(P402-01 = 2)
shearing weighfeeder
motor
speed
controller
motor
speed
controller

Table of Contents