EasyManua.ls Logo

Mortara H12+ - Page 47

Mortara H12+
62 pages
Print Icon
To Next Page IconTo Next Page
To Next Page IconTo Next Page
To Previous Page IconTo Previous Page
To Previous Page IconTo Previous Page
Loading...
_ _ _ Section 5
5-7
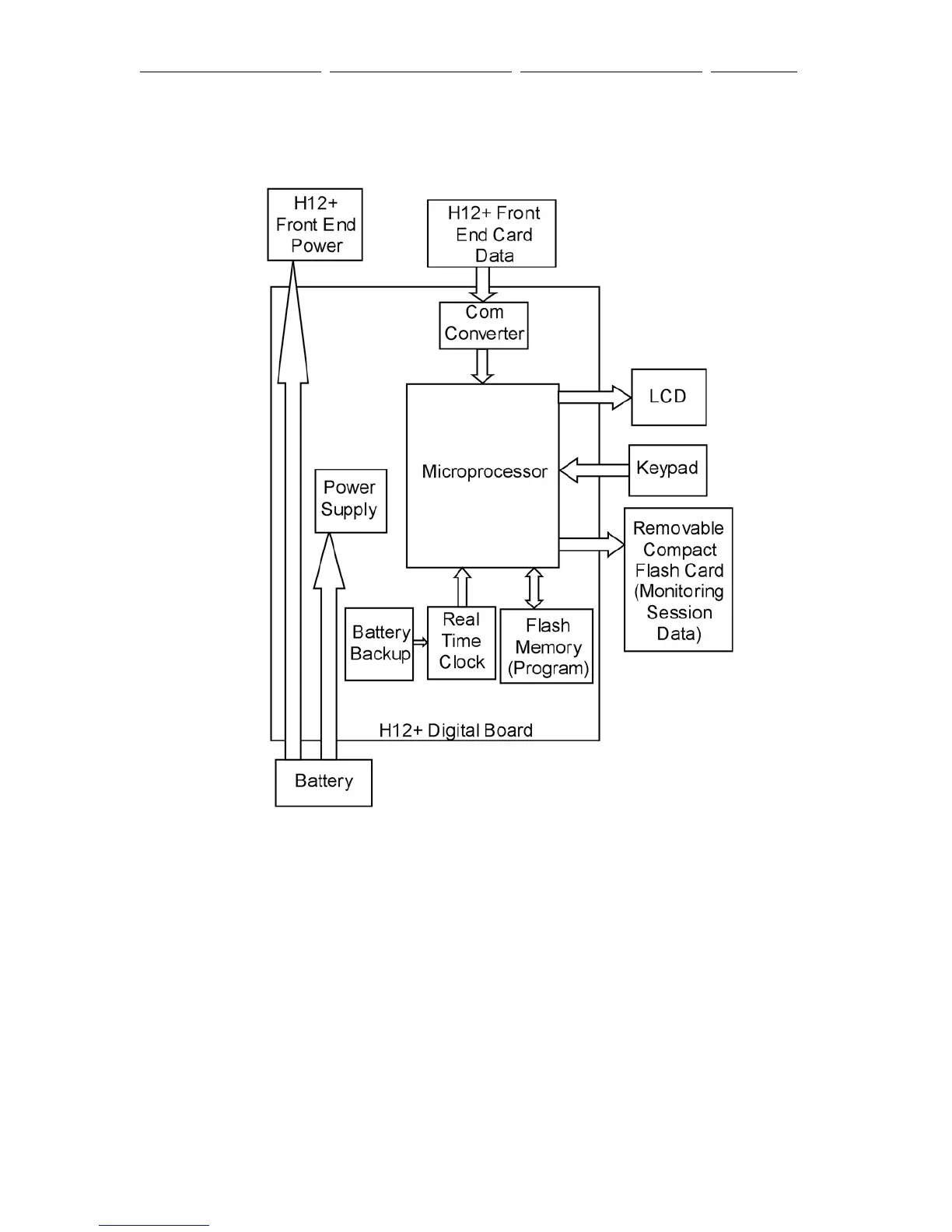
Block Diagram of H12+ Digital Board

Other manuals for Mortara H12+

Related product manuals