EasyManua.ls Logo

NetApp E2600 - Page 68

NetApp E2600
142 pages
Print Icon
To Next Page IconTo Next Page
To Next Page IconTo Next Page
To Previous Page IconTo Previous Page
To Previous Page IconTo Previous Page
Loading...
60 E2600 Controller-Drive Tray Installation Guide
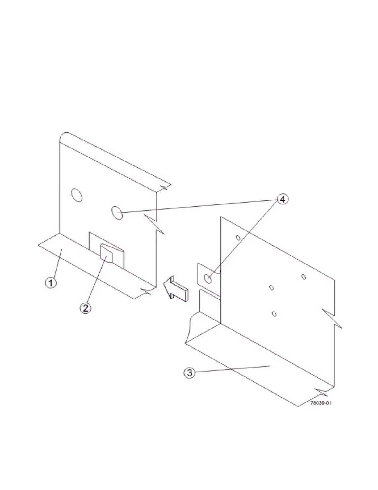
6. With the help of one other person, slide the rear of the drive tray onto the mounting rails. The rear edge of the
drive tray must fit into the clip on the mounting rail. The drive tray is correctly aligned when these conditions
are met:
The mounting holes on the front flanges of the drive tray align with the mounting holes on the front of the
mounting rails. Refer to item 4 in the following figure.
The rear edge of the drive tray sheet metal fits into the clip on the mounting rail.
The holes in the drive tray sheet metal for the rear hold-down screws align with the captured nuts in the
side of the mounting rails.
Figure 53 Sliding the Drive Tray into the Clip on the Mounting Rail
1. Mounting Rail
2. Clip
3. Partial View of the Drive Tray Rear Sheet Metal
4. Mounting Holes

Table of Contents

Related product manuals