EasyManua.ls Logo

NetApp FC4600 - Page 155

NetApp FC4600
230 pages
Print Icon
To Next Page IconTo Next Page
To Next Page IconTo Next Page
To Previous Page IconTo Previous Page
To Previous Page IconTo Previous Page
Loading...
Chapter 4: Drive Connection 145
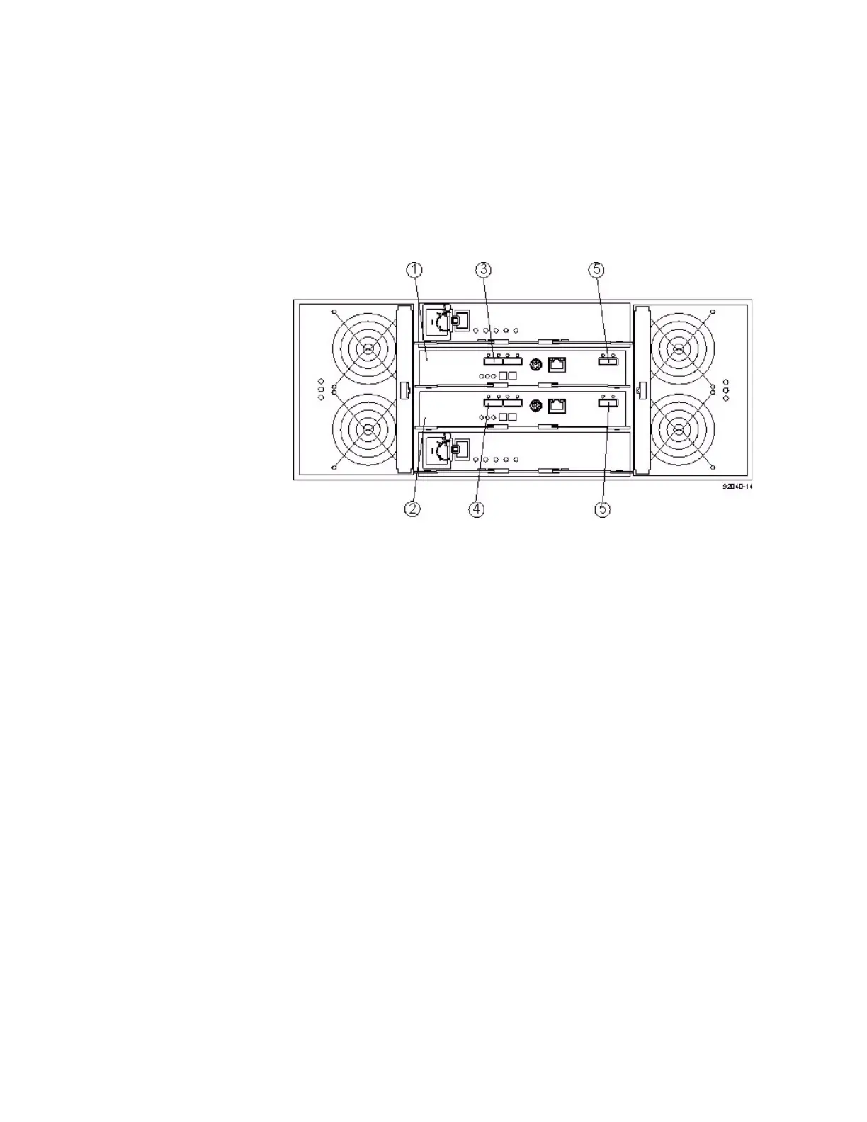
The following figures show the SAS ports on a DE6600 drive tray. You may connect
either of the SAS ports labeled SAS 1 and SAS 2 to the SAS expansion port on
another drive tray or on a controller-drive tray. Do not make connections to both the
SAS 1 port and the SAS 2 port on the same ESM.
Figure 62 SAS Ports on a DE6600 Drive Tray
1. ESM A
2. ESM B
3. SAS In Port
4. SAS In Port
5. SAS Expansion Ports

Table of Contents

Related product manuals