EasyManua.ls Logo

Nokia RM-721 - GSM Transmitter Troubleshooting Flowchart

Nokia RM-721
160 pages
Print Icon
To Next Page IconTo Next Page
To Next Page IconTo Next Page
To Previous Page IconTo Previous Page
To Previous Page IconTo Previous Page
Loading...
Next actions
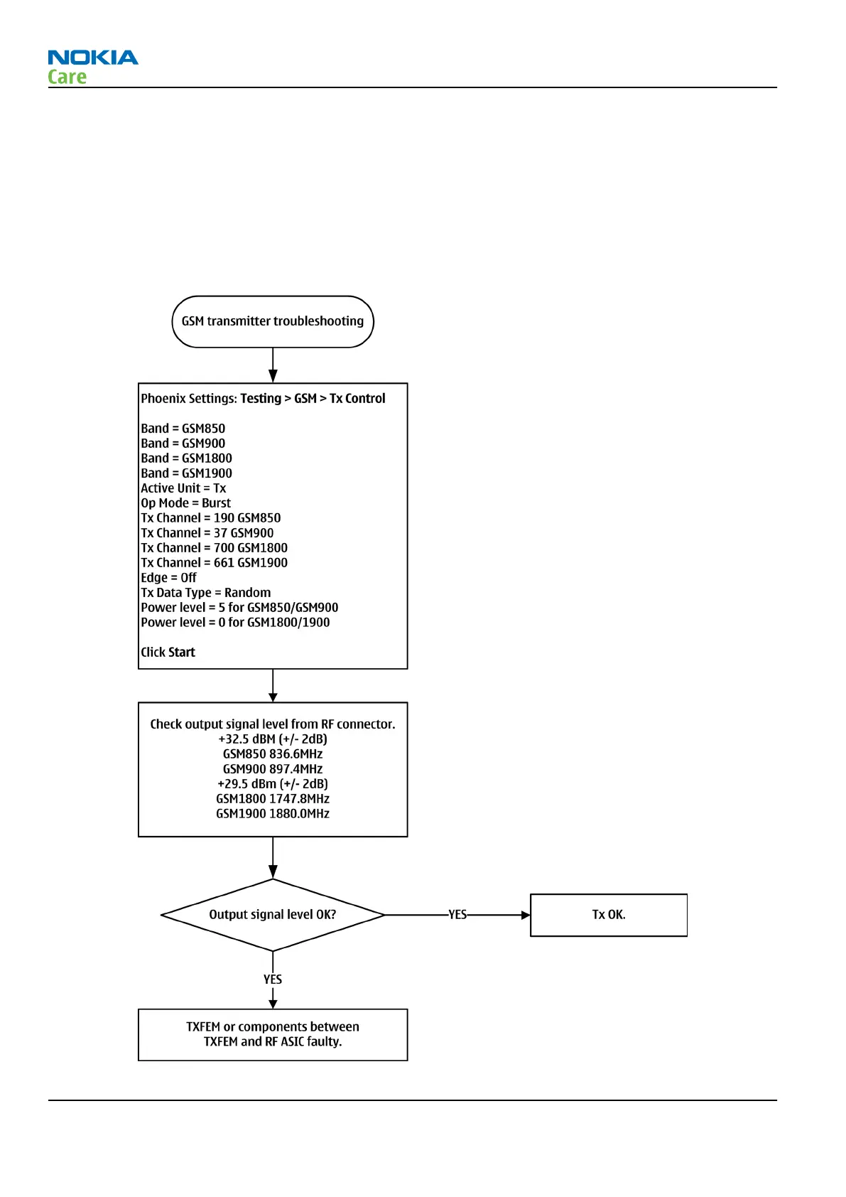
You can troubleshoot the GSM transmitter for each GSM band separately, one band at a time. If you want to
troubleshoot GSM850, GSM1800 or GSM1900, change the band in the RF controls window and set the
communication analyser accordingly.
GSM transmitter troubleshooting flowchart
Troubleshooting flow
RM-721; RM-722
RF Troubleshooting
Page 4 – 16 COMPANY CONFIDENTIAL Issue 1
Copyright © 2011 Nokia. All rights reserved.

Table of Contents

Related product manuals