EasyManua.ls Logo

Nokia RM-721 - Display Module; User Interface

Nokia RM-721
160 pages
Print Icon
To Next Page IconTo Next Page
To Next Page IconTo Next Page
To Previous Page IconTo Previous Page
To Previous Page IconTo Previous Page
Loading...
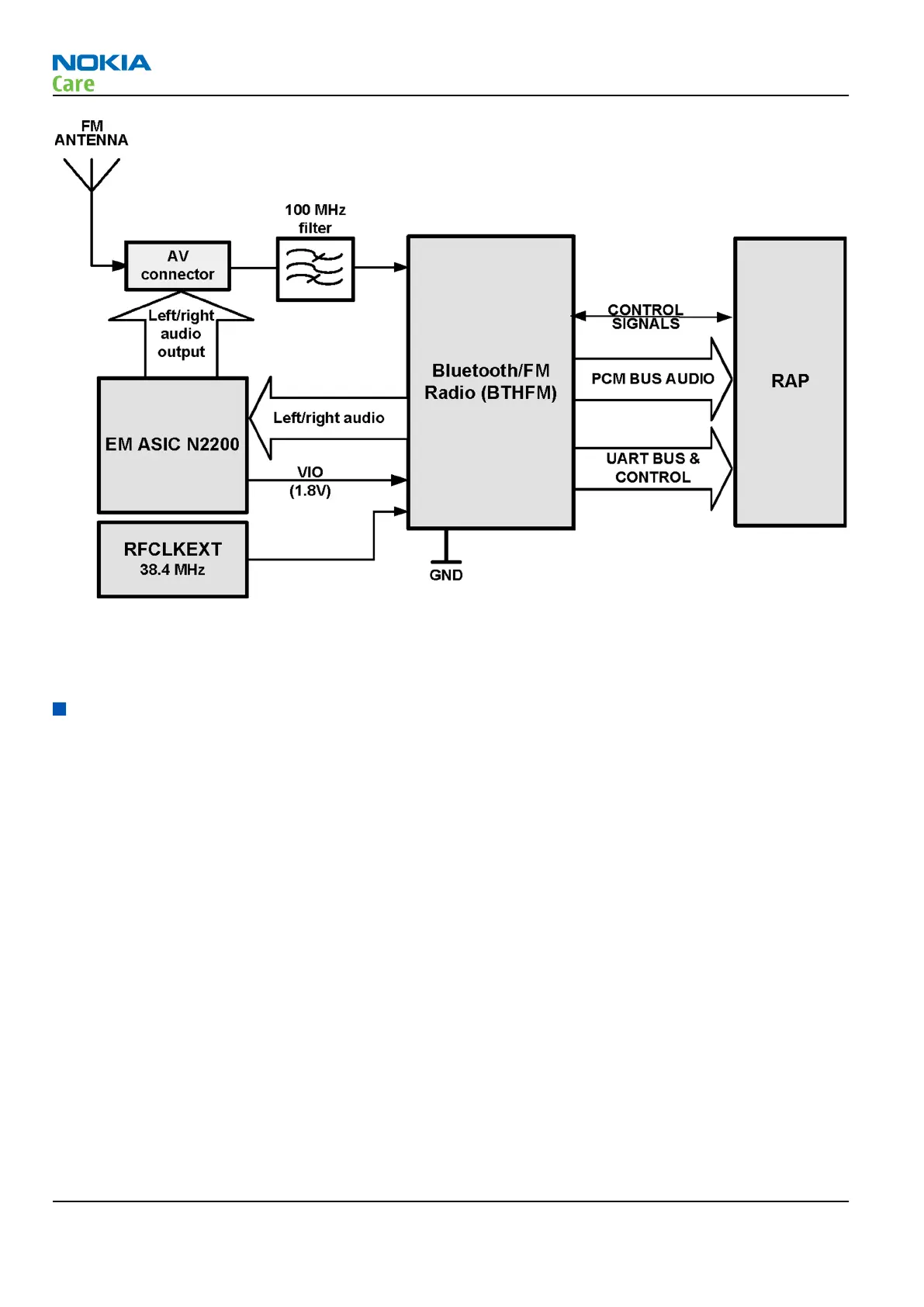
Figure 28 FM interface
The FM radio is an integrated circuit, controlled by MCU software through a serial bus interface. The wires of
the headset are used as poles of the antenna, and no other antenna is needed for FM radio reception.
User interface
Display module
Display module
The display module consists of a large 2.0" QVGA (320 x 240 pixels) TFT display with 262K colours.
The interconnection between the display module and RAP engine is implemented with a 25-pin board-to-
board connector. The display module is equipped with a driver with bi-directional 8-bit parallel interfaces.
RM-721; RM-722
System Module
Page 5 – 14 COMPANY CONFIDENTIAL Issue 1
Copyright © 2011 Nokia. All rights reserved.

Table of Contents

Related product manuals