EasyManua.ls Logo

Nokia RM-721 - FM Radio

Nokia RM-721
160 pages
Print Icon
To Next Page IconTo Next Page
To Next Page IconTo Next Page
To Previous Page IconTo Previous Page
To Previous Page IconTo Previous Page
Loading...
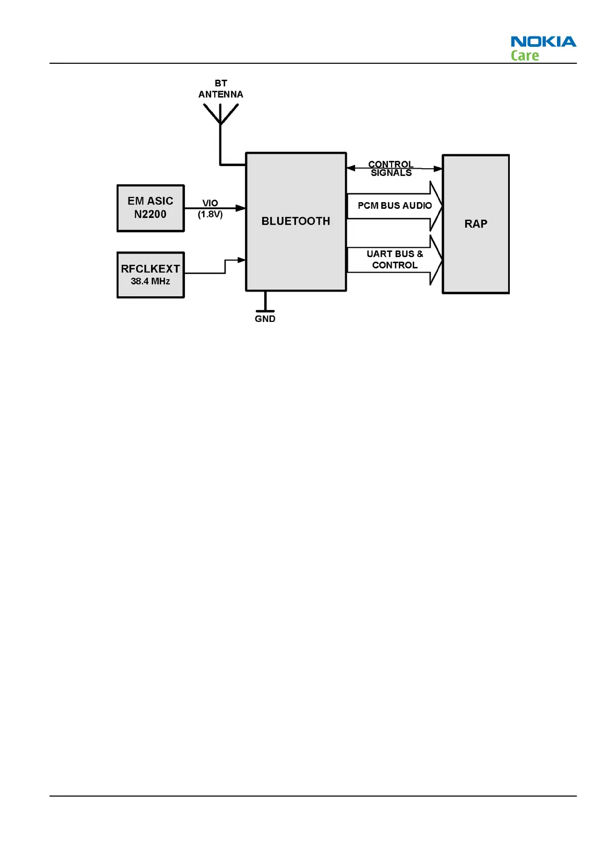
Figure 27 Bluetooth interface
The Bluetooth has a separate built in antenna and is powered by VBAT and the regulated voltage VIO. For
audio applications the Bluetooth has a PCM data bus. In addition a UART (universal asynchronous receiver/
transmitter) is used for data communication and controls.
FM radio
The FM radio is physically integrated with the Bluetooth into one single module. From a functional point of
view they, however, have nothing in common.
RM-721; RM-722
System Module
Issue 1 COMPANY CONFIDENTIAL Page 5 – 13
Copyright © 2011 Nokia. All rights reserved.

Table of Contents

Related product manuals