EasyManua.ls Logo

Panasonic RR-US310 - Nomi Dei Componenti

Panasonic RR-US310
293 pages
Print Icon
To Next Page IconTo Next Page
To Next Page IconTo Next Page
To Previous Page IconTo Previous Page
To Previous Page IconTo Previous Page
Loading...
VQT4R68
ITALIANO
101
4
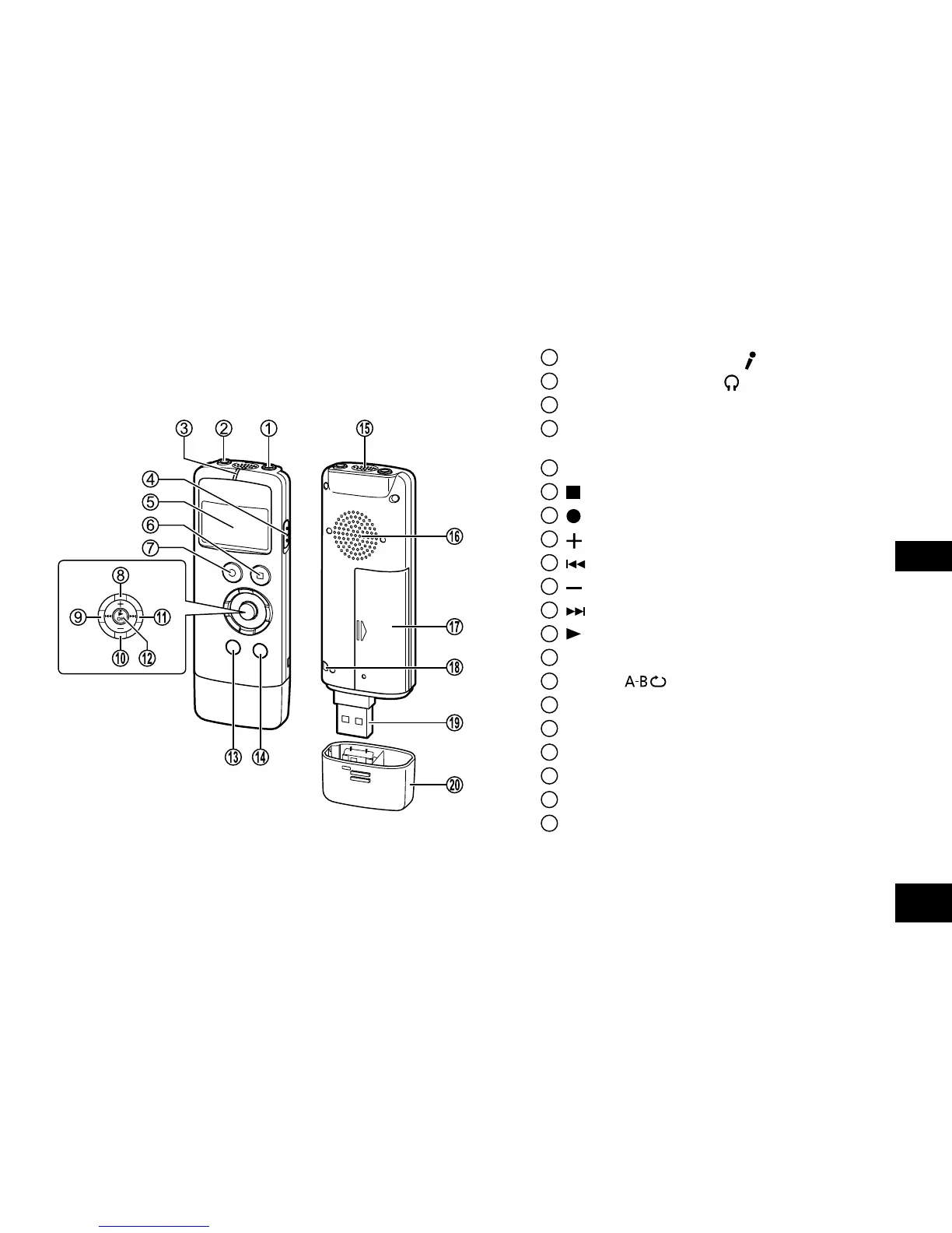
1
Jack microfono esterno (
)
2
Jack cuffie/auricolari ( )
3
Indicatore di funzionamento/registrazione
4
Interruttore OPR/HOLD
(OPR: Funzionamento)
5
Schermo LCD
6
STOP/RETURN
7
REC
8
(aumento volume)
9
(indietro veloce)
10
(diminuzione volume)
11
(avanti veloce)
12
OK (riproduzione)
13
MENU/FOLDER
14
ERASE/ (modalità Ripeti)
15
Microfono monoaurale incorporato
16
Altoparlante incorporato
17
Coperchio della batteria
18
Fessura cordino
19
Presa USB
20
Coperchio presa USB
Nomi dei componenti
RR-US310EIt.indd101 2013/01/0921:07:09

Table of Contents

Related product manuals