EasyManua.ls Logo

Panasonic RR-US310 - Écouter des Données Audio Avec Les Écouteurs

Panasonic RR-US310
293 pages
Print Icon
To Next Page IconTo Next Page
To Next Page IconTo Next Page
To Previous Page IconTo Previous Page
To Previous Page IconTo Previous Page
Loading...
VQT4R68
88
17
Écouter des données
audio avec les écouteurs
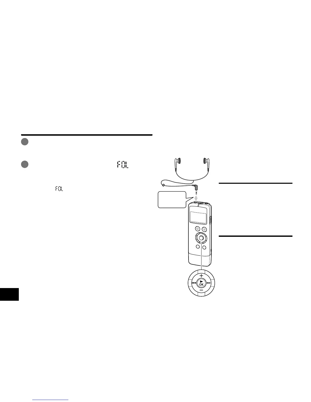
Connectez des écouteurs stéréo (non fournis).
(Type de fiche : mini-fiche stéréo ø 3,5 mm)
Écouteurs supplémentaires recommandés :
Panasonic RP-HV154, RP-HJE125
(À compter de janvier 2013)
Contrôler
l’enregistrement en
cours
Régler le volume :
Vous pouvez ajuster le volume
en appuyant sur +, – ; ceci
n’affecte pas les données audio
enregistrées.
Sortie audio durant
la lecture
Pendant la lecture, le son
provient du haut-parleur intégré.
S’il est difficile d’entendre le
son dans les lieux bruyants,
utilisez des écouteurs.
Lorsque des écouteurs sont
branchés, aucun son n’est
émis par le haut-parleur
intégré.
Insérez
complètement
la fiche.
Fonction de repérage de dossiers
1
Maintenez enfoncé [MENU/FOLDER]
pendant au moins une seconde durant la
lecture.
2
Appuyez sur u, i lorsque “ ” est
affiché.
La première piste du dossier précédent ou suivant
est marquée pour repérage.
• Lorsque
” est affiché, la vitesse de lecture ne
peut pas être modifiée. L’avance rapide/le recul
rapide ne fonctionneront pas non plus.
Annuler le repérage de dossiers :
Utilisez l’une des méthodes suivantes pour annuler la
fonction de repérage de dossiers.
Maintenez à nouveau enfoncé [MENU/FOLDER]
pendant au moins une seconde.
Appuyez sur [q OK].
Appuyez sur [g STOP/RETURN]. (La lecture est
terminée.)
Écouter de la musique
avec l’appareil
RR-US310EFr.indd88 2013/01/0921:06:18

Table of Contents

Related product manuals