EasyManua.ls Logo

Panasonic RR-US310 - Nazwy Elementów

Panasonic RR-US310
293 pages
Print Icon
To Next Page IconTo Next Page
To Next Page IconTo Next Page
To Previous Page IconTo Previous Page
To Previous Page IconTo Previous Page
Loading...
VQT4R68
179
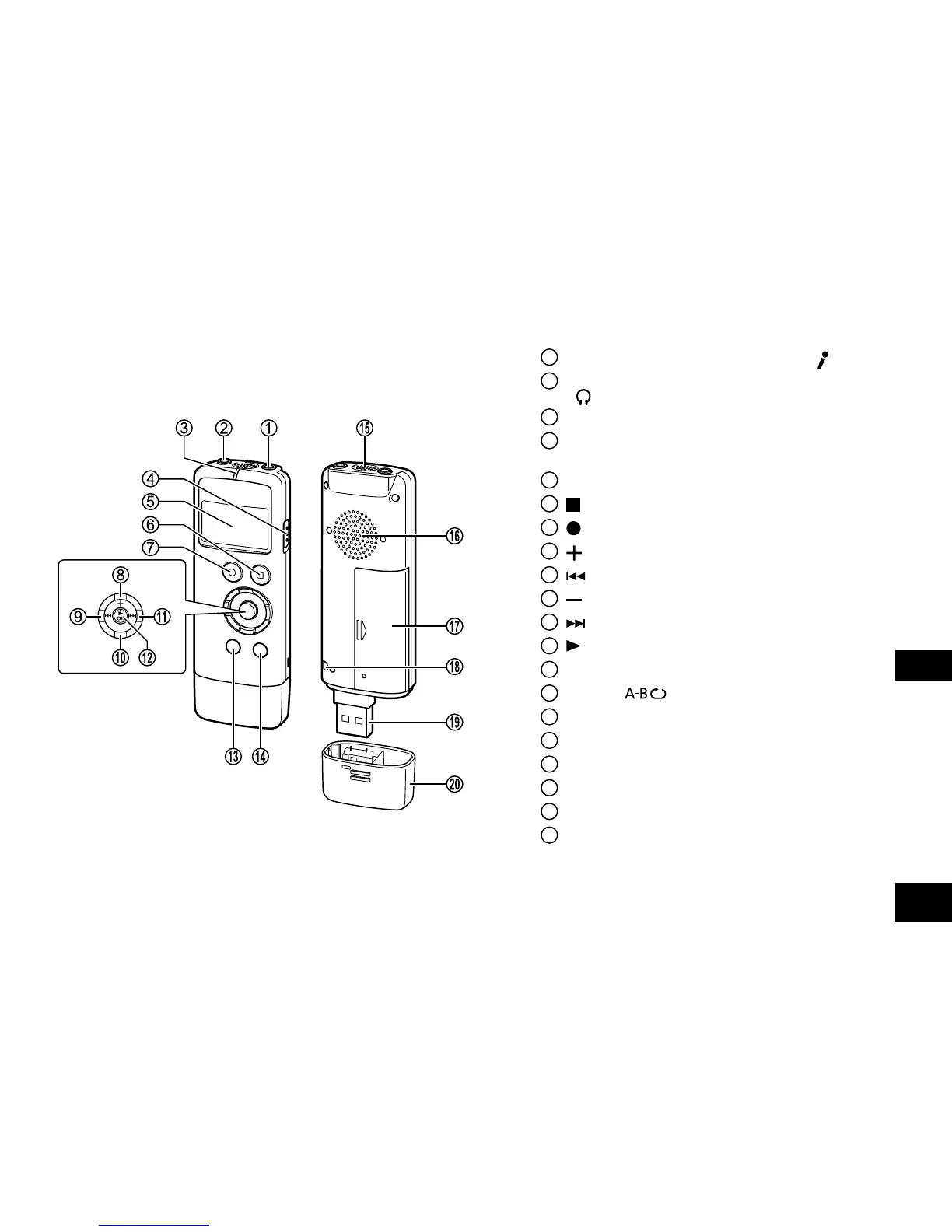
POLSKI
4
1
Gniazdo mikrofonu zewnętrznego (
)
2
Gniazdo słuchawek nausznych/dousznych
( )
3
Wskaźnik nagrywania/wskaźnik działania
4
Przełącznik OPR/HOLD
(OPR: działanie)
5
Wyświetlacz LCD
6
STOP/RETURN
7
REC
8
(Zwiększanie głośności)
9
(Przewijanie do tyłu)
10
(Zmniejszanie głośności)
11
(Przewijanie do przodu)
12
OK (Odtwarzanie)
13
MENU/FOLDER
14
ERASE/ (Tryb powtarzania)
15
Wbudowany mikrofon monofoniczny
16
Wbudowany głośnik
17
Pokrywa baterii
18
Otwór na pasek na rękę
19
Wtyczka USB
20
Pokrywa wtyczki USB
Nazwy elementów
RR-US310EPo.indd179 2013/01/0921:09:44

Table of Contents

Related product manuals