EasyManua.ls Logo

Panasonic RR-US310 - Nomes das Peças

Panasonic RR-US310
293 pages
Print Icon
To Next Page IconTo Next Page
To Next Page IconTo Next Page
To Previous Page IconTo Previous Page
To Previous Page IconTo Previous Page
Loading...
VQT4R68
153
PORTUGUÊS
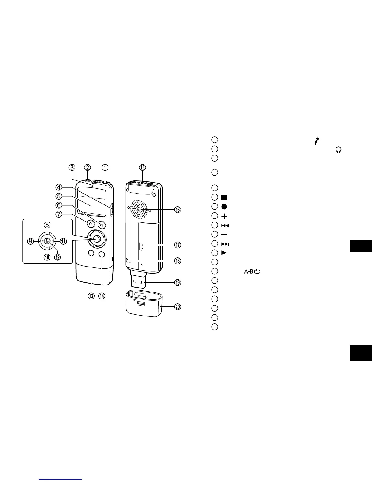
4
1
Tomada para microfone externo (
)
2
Tomada para auscultadores/auriculares ( )
3
Indicador de gravação/Indicador de
funcionamento
4
Interruptor OPR/HOLD
(OPR: Funcionamento)
5
Visor LCD
6
STOP/RETURN
7
REC
8
(Aumentar volume)
9
(Retrocesso rápido)
10
(Diminuir volume)
11
(Avanço rápido)
12
OK (Reproduzir)
13
MENU/FOLDER
14
ERASE/ (Modo de repetição)
15
Microfone mono incorporado
16
Altifalante incorporado
17
Tampa da pilha
18
Orifício para a correia de mão
19
Ficha USB
20
Tampa da ficha USB
Nomes das peças
RR-US310EPr.indd153 2013/01/0921:08:54

Table of Contents

Related product manuals