EasyManua.ls Logo

Panasonic RR-US310 - Nombres de las Partes

Panasonic RR-US310
293 pages
Print Icon
To Next Page IconTo Next Page
To Next Page IconTo Next Page
To Previous Page IconTo Previous Page
To Previous Page IconTo Previous Page
Loading...
VQT4R68
127
ESPAÑOL
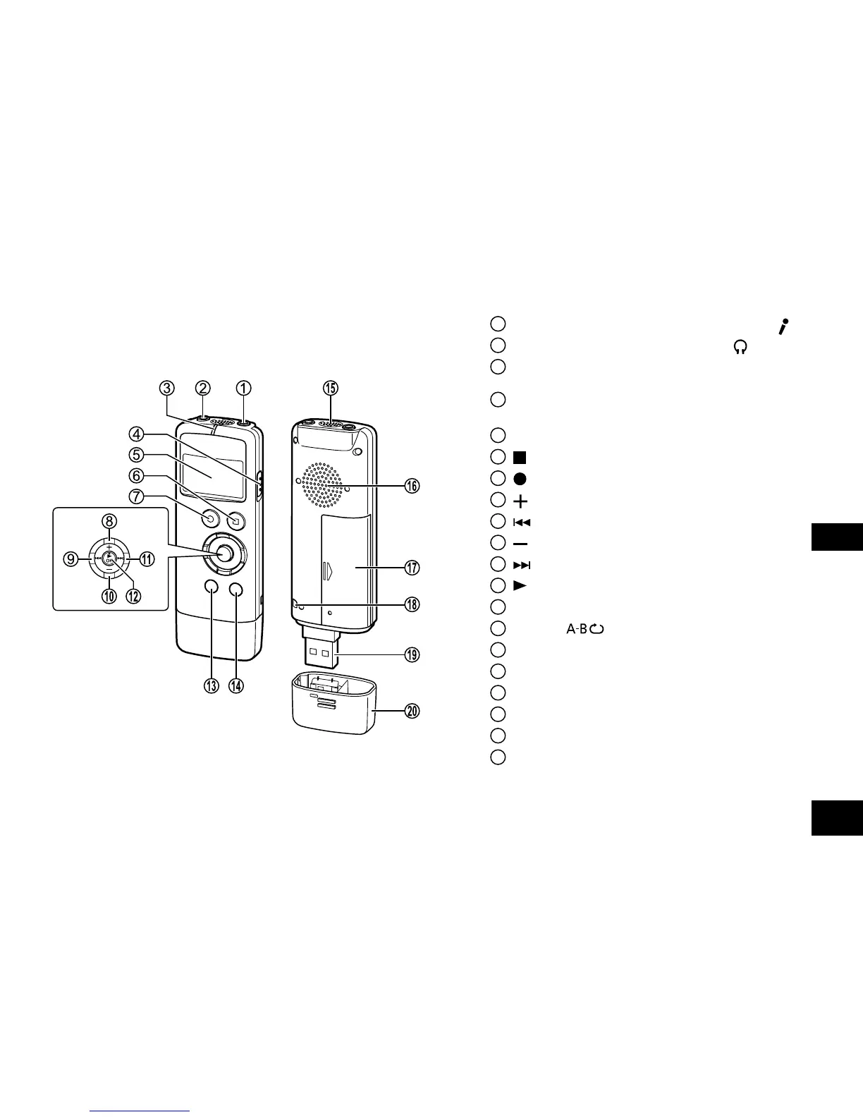
1
Clavija externa tipo jack para micrófono (
)
2
Clavija tipo jack para auriculares ( )
3
Indicador de grabación/indicador de
funcionamiento
4
Interruptor OPR/HOLD
(OPR: funcionamiento)
5
Pantalla LCD
6
STOP/RETURN
7
REC
8
(Subir volumen)
9
(Retroceso rápido)
10
(Bajar volumen)
11
(Avance rápido)
12
OK (Reproducir)
13
MENU/FOLDER
14
ERASE/ (Modo de repetición)
15
Micrófono monoaural incorporado
16
Altavoz incorporado
17
Cubierta de la pila
18
Orificio para la correa de mano
19
Conector USB
20
Tapa del conector USB
Nombres de las partes
4
RR-US310ESp.indd127 2013/01/0921:08:03

Table of Contents

Related product manuals