EasyManua.ls Logo

Panasonic RR-US310 - Messages Derreur; Structure des Dossiers de Cet Appareil

Panasonic RR-US310
293 pages
Print Icon
To Next Page IconTo Next Page
To Next Page IconTo Next Page
To Previous Page IconTo Previous Page
To Previous Page IconTo Previous Page
Loading...
VQT4R68
93
FRANÇAIS
22
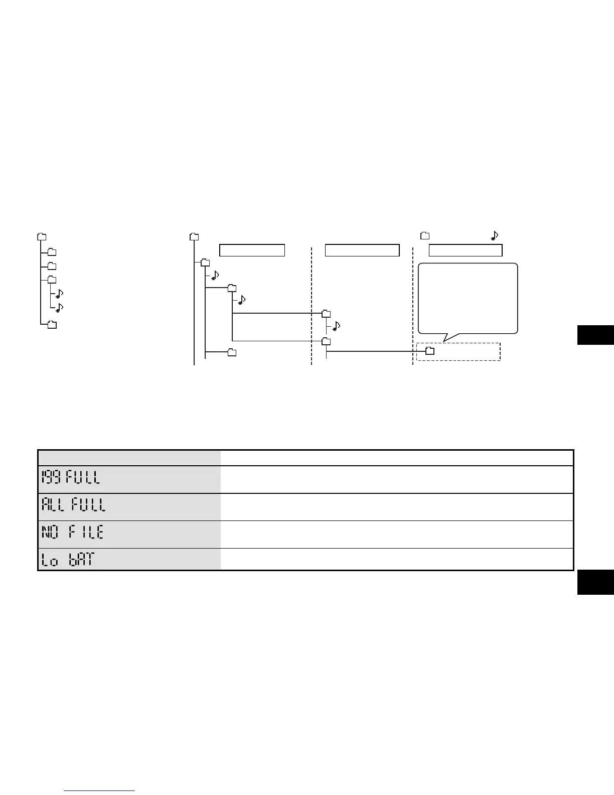
Mémoire interne
MIC
Mémoire interne
MUSIC
Artist B
Music 01.MP3
MUSIC
001_130220_1720V0.MP3
DATA
Artist A
Music A.MP3
Music A1-1.MP3
Album A1
Album A2
Album A2-1
MANUAL
002_130225_0905V0.MP3
Le dossier “MUSIC” est utilisé lors
du transfert de fichiers de musique
MP3, etc. depuis l’ordinateur.
Vous pouvez créer des sous-
dossiers dans le dossier “MUSIC”.
Un exemple de structure apparaît
à droite.
La lecture est
disponible au
deuxième niveau. Les
fichiers du troisième
niveau et au-delà ne
peuvent pas être lus.
: Fichier: Dossier
Premier niveau
Deuxième niveau Troisième niveau
Structure des dossiers de cet appareil
Messages d’erreur
Message d’erreur Point de contrôle
Ceci s’affiche lorsque vous essayez d’enregistrer plus de fichiers que le
nombre maximum qui peut être enregistré (199).
Ceci s’affiche lorsque vous essayez d’enregistrer alors qu’il ne reste pas
d’espace d’enregistrement.
Ceci s’affiche lorsque vous essayez de lire un fichier alors que le dossier
ne contient aucun fichier.
Remplacez la pile.
RR-US310EFr.indd93 2013/01/0921:06:18

Table of Contents

Related product manuals