EasyManua.ls Logo

Panasonic RR-US310 - 本机⽂件夹结构; 错误信息

Panasonic RR-US310
293 pages
Print Icon
To Next Page IconTo Next Page
To Next Page IconTo Next Page
To Previous Page IconTo Previous Page
To Previous Page IconTo Previous Page
Loading...
VQT4R68
249
中⽂
22
󱂊仒⪼󰾭◌
MIC
󱂊仒⪼󰾭◌
MUSIC
Artist B
Music 01.MP3
MUSIC
001_130220_1720V0.MP3
DATA
Artist A
Music A.MP3
Music A1-1.MP3
Album A1
Album A2
Album A2-1
MANUAL
002_130225_0905V0.MP3
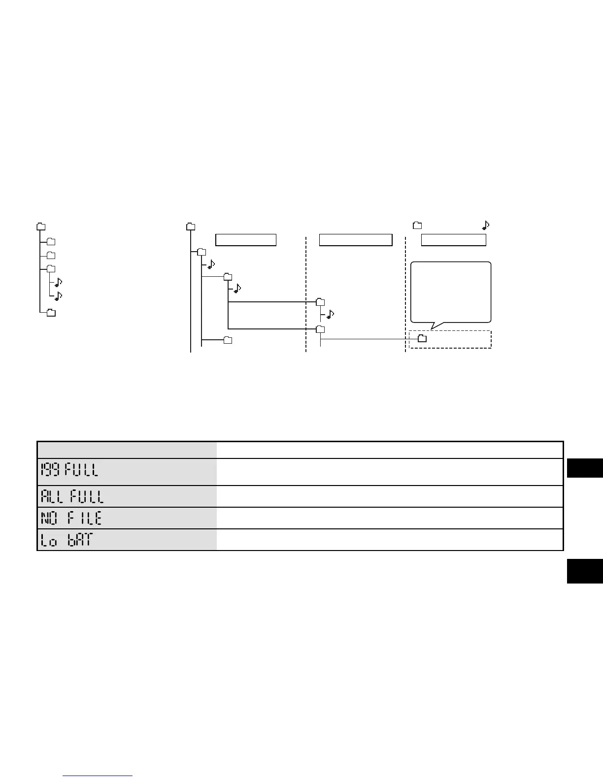
当从电脑传送 MP3 ⾳乐⽂件等时,
使⽤“MUSIC”⽂件夹。
可在“MUSIC”⽂件夹中创建⼦⽂
件夹。结构⽰例显⽰在右侧。
可以播放到第⼆
级。⽆法播放第
三级及以下的⽂
件。
:⽂ ⽂件夹
第⼀级
第⼆级 第三级
本机⽂件夹结构
错误信息
错误信息 检查要点
超过可录制的最⼤⽂件数(199)时尝试录⾳时,显⽰此信息。
在没有剩余录⾳时间的情况下尝试录⾳时,显⽰此信息。
⽂件夹中没有⽂件时尝试播放时,显⽰此信息。
更换新电池。
RR-US310ECn.indd249 2013/01/0921:12:01

Table of Contents

Related product manuals