EasyManua.ls Logo

Panasonic RR-US310 - Fehlermeldungen; Ordnerstruktur IM Gerät

Panasonic RR-US310
293 pages
Print Icon
To Next Page IconTo Next Page
To Next Page IconTo Next Page
To Previous Page IconTo Previous Page
To Previous Page IconTo Previous Page
Loading...
VQT4R68
67
DEUTSCH
22
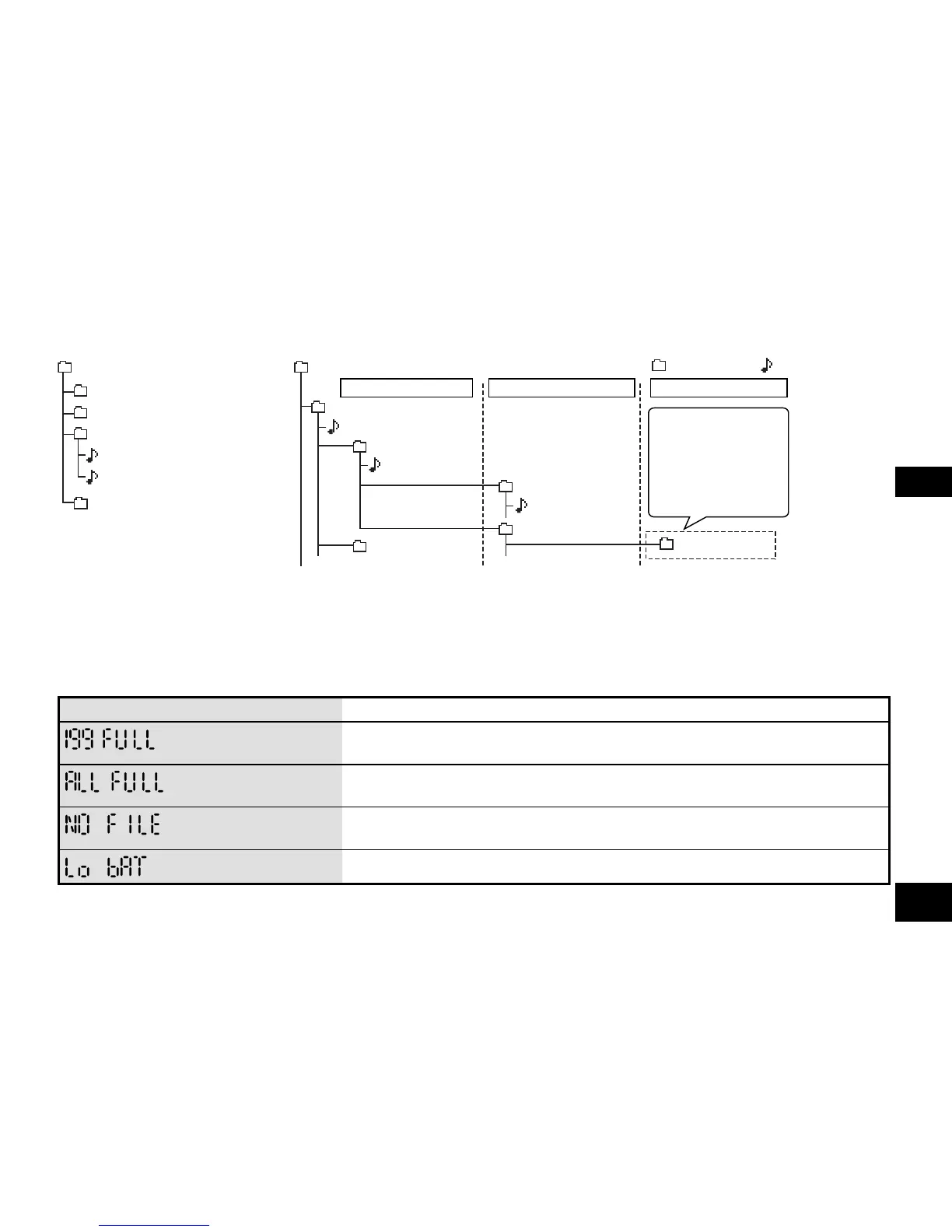
Interner Speicher
MIC
Interner Speicher
MUSIC
Artist B
Music 01.MP3
MUSIC
001_130220_1720V0.MP3
DATA
Artist A
Music A.MP3
Music A1-1.MP3
Album A1
Album A2
Album A2-1
MANUAL
002_130225_0905V0.MP3
Der Ordner „MUSIC“ wird verwendet,
wenn MP3-Musikdateien transferiert
werden, z. B. vom Computer.
Im Ordner „MUSIC“ können Sie
Unterordner anlegen. Rechts sehen
Sie eine Beispiel-Struktur.
Dateien auf der zweiten
Hierarchiestufe können
wiedergegeben werden.
Dateien auf der dritten
Hierarchiestufe und
höher nicht.
: Datei: Ordner
Erste Hierarchiestufe
Zweite Hierarchiestufe Dritte Hierarchiestufe
Ordnerstruktur im Gerät
Fehlermeldungen
Fehlermeldung Zu prüfende Punkte
Das wird angezeigt, wenn Sie versuchen, mehr Dateien aufzunehmen, als
es möglich ist (199).
Das wird angezeigt, wenn Sie versuchen, aufzunehmen, obwohl keine
weitere Aufnahmezeit zur Verfügung steht.
Das wird angezeigt, wenn Sie versuchen, eine Datei wiederzugeben,
wenn im Ordner gar keine Datei vorhanden ist.
Tauschen Sie die alte Batterie gegen eine neue aus.
RR-US310EGe.indd67 2013/01/0921:05:11

Table of Contents

Related product manuals