EasyManua.ls Logo

Panasonic RR-US310 - Page 264

Panasonic RR-US310
293 pages
Print Icon
To Next Page IconTo Next Page
To Next Page IconTo Next Page
To Previous Page IconTo Previous Page
To Previous Page IconTo Previous Page
Loading...
VQT4R68
30
264
Internal memory
MIC
Internal memory
MUSIC
Artist B
Music 01.MP3
MUSIC
001_130220_1720V0.MP3
DATA
Artist A
Music A.MP3
Music A1-1.MP3
Album A1
Album A2
Album A2-1
MANUAL
002_130225_0905V0.MP3
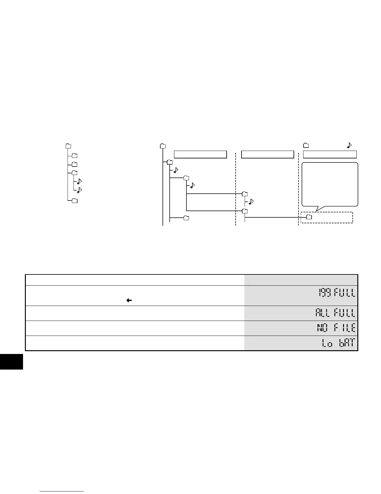
ﻰﻘﻴﺳﻮﻤﻟﺍ ﺪﻠﺠﻣ ﻡﺍﺪﺨﺘﺳﺍ ﻢﺘﻳ
ﻰﻘﻴﺳﻮﻤﻟﺍ ﺕﺎﻔﻠﻣ ﻞﻘﻧ ﺪﻨﻋ MUSIC
.ﺮﺗﻮﻴﺒﻤﻜﻟﺍ ﻦﻣ ﺦﻟﺇ ،MP3 ﻖﻴﺴﻨﺘﺑ
ﺪﻠﺠﻣ ﻲﻓ ﺔﻴﻋﺮﻓ ﺕﺍﺪﻠﺠﻣ ﺀﺎﺸﻧﺇ ﻚﻨﻜﻤﻳ
ﺔﻴﻨﺒﻟﺍ ﺮﻬﻈﺗ .MUSIC ﻰﻘﻴﺳﻮﻤﻟﺍ
.ﻦﻴﻤﻴﻟﺍ ﻰﻠﻋ ﺢﺿﻮﻣ ﻮﻫ ﺎﻤﻛ ﺔﻴﺴﻴﺋﺮﻟﺍ
ﺎﺣﺎﺘﻣ ﻞﻴﻐﺸﺘﻟﺍ ﻥﻮﻜﻳ
ﻲﻣﺮﻬﻟﺍ ﻞﺴﻠﺴﺘﻟﺍ ﻲﻓ
ﻞﻴﻐﺸﺗ ﺭﺬﻌﺘﻳ .ﻲﻧﺎﺜﻟﺍ
ﻞﺴﻠﺴﺘﻟﺍ ﻲﻓ ﺕﺎﻔﻠﻤﻟﺍ
.ﻕﻮﻓ ﺎﻣﻭ ﺚﻟﺎﺜﻟﺍ ﻲﻣﺮﻬﻟﺍ
ﻒﻠﻤﻟﺍ :ﺪﻠﺠﻤﻟﺍ :
ﻲﻧﺎﺜﻟﺍ ﻲﻣﺮﻬﻟﺍ ﻞﺴﻠﺴﺘﻟﺍ
ﺚﻟﺎﺜﻟﺍ ﻲﻣﺮﻬﻟﺍ ﻞﺴﻠﺴﺘﻟﺍﻝﻭﻷﺍ ﻲﻣﺮﻬﻟﺍ ﻞﺴﻠﺴﺘﻟﺍ
ﺔﻴﻠﺧﺍﺪﻟﺍ ﺓﺮﻛﺍﺬﻟﺍ
ﺔﻴﻠﺧﺍﺪﻟﺍ ﺓﺮﻛﺍﺬﻟﺍ
ﺓﺪﺣﻮﻟﺍ ﻩﺬﻫ ﻲﻓ ﺪﻠﺠﻤﻟﺍ ﺔﻴﻨﺑ
ﺄﻄﺨﻟﺍ ﻞﺋﺎﺳﺭ
ﺄﻄﺨﻟﺍ ﺔﻟﺎﺳﺭﺺﺤﻔﻟﺍ ﻁﺎﻘﻧ
ﻪﺑ ﺡﻮﻤﺴﻤﻟﺍ ﻰﺼﻗﻷﺍ ﺪﺤﻟﺍ ﻦﻣ ﺮﺒﻛﺃ ﺩﺪﻋ ﻞﻴﺠﺴﺗ ﻝﻭﺎﺤﺗ ﺎﻣﺪﻨﻋ ﺔﻟﺎﺳﺮﻟﺍ ﻩﺬﻫ ﺮﻬﻈﺗ
(9 ﺔﺤﻔﺻ
) .(
ﻔﻠﻣ 199) ﺎﻬﻠﻴﺠﺴﺗ ﻦﻜﻤﻳ ﻲﺘﻟﺍ ﺕﺎﻔﻠﻤﻠﻟ
.ﻲﻘﺒﺘﻣ ﻞﻴﺠﺴﺗ ﺖﻗﻭ ﺪﺟﻮﻳ ﻻﻭ ﻞﻴﺠﺴﺘﻟﺍ ﻝﻭﺎﺤﺗ ﺎﻣﺪﻨﻋ ﻪﺿﺮﻋ ﻢﺘﻳ
.ﺪﻠﺠﻤﻟﺍ ﻲﻓ ﻒﻠﻣ ﻱﺃ ﺩﻮﺟﻭ ﻡﺪﻋ ﺔﻟﺎﺣ ﻲﻓ ﻒﻠﻣ ﻞﻴﻐﺸﺗ ﻝﻭﺎﺤﺗ ﺎﻣﺪﻨﻋ ﺔﻟﺎﺳﺮﻟﺍ ﻩﺬﻫ ﺮﻬﻈﺗ
.ﺓﺪﻳﺪﺟ ﺓﺪﺣﺍﻮﺑ ﺔﻳﺭﺎﻄﺒﻟﺍ ﻝﺪﺒﺘﺳﺍ

Table of Contents

Related product manuals