EasyManua.ls Logo

Panasonic VDR-M30 - Skip Playback of Movie; Playing Back Stills

Panasonic VDR-M30
176 pages
Print Icon
To Next Page IconTo Next Page
To Next Page IconTo Next Page
To Previous Page IconTo Previous Page
To Previous Page IconTo Previous Page
Loading...
71
QR34662

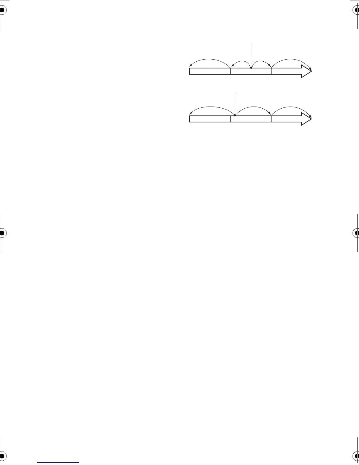
Skip Playback of Movie
During playback, tilt the joystick up or down to
locate the start of desired scene.
Tilt once : To skip to the first image of the
scene following the one being
played back, and start
playback.
Tilt once : To return to the first image of
the scene being played back,
and start playback.
Tilt and hold : To continuously locate the
beginnings of scenes, starting
from the scene following the
scene being played back. When
the desired image appears,
release the joystick: Playback
will start from that point.
Tilt and hold : To continuously locate the
beginnings of scenes
backward, starting from the
scene preceding the scene
currently being played back.
When the desired image
appears, release the joystick:
Playback will start from that
point.
Note:
If you perform skip playback during playback pause, the
DVD Palmcorder will enter the playback pause status at
the beginning of the located scene.
Tilting down in the last scene on disc will set the DVD
Palmcorder to the playback pause status at the last
image.
See page 148 if skip playback does not operate normally.

Playing Back Stills
Tilt the joystick up or down during playback to
quickly play back stills in sequence.
Tilt once: To display stills one by one forward
Tilt once: To display stills one by one backward
[When using disc]
Releasing the joystick will start continuous
playback.
[When using card]
When the joystick is released, the photo at that
point will be displayed, and then the DVD
Palmcorder will enter the playback pause status.
Set the slide show function for continuous display
(P. 133).
Portion being played back
Tilt up twice Tilt up once Tilt down once Tilt down twice
Tilt up once
Tilt down once
Tilt down twice
Scene 1 Scene 2 Scene 3
Scene 1 Scene 2 Scene 3
Portion being played back
Tilting up the joystick at a portion several seconds from
the start of scene being played back will return to the
start of the scene preceding that being played back.
VDR-M30PP_GB.book Page 71 Friday, March 14, 2003 8:53 PM

Table of Contents

Related product manuals