EasyManua.ls Logo

Perkins 1106C - Troubleshooting Section; Electronic Troubleshooting Overview

Perkins 1106C
188 pages
Print Icon
To Next Page IconTo Next Page
To Next Page IconTo Next Page
To Previous Page IconTo Previous Page
To Previous Page IconTo Previous Page
Loading...
KENR6933 5
Troubleshooting Section
Troubleshooting Section
Electronic Troubleshooting
i02755770
System Overview
System Opera
tion
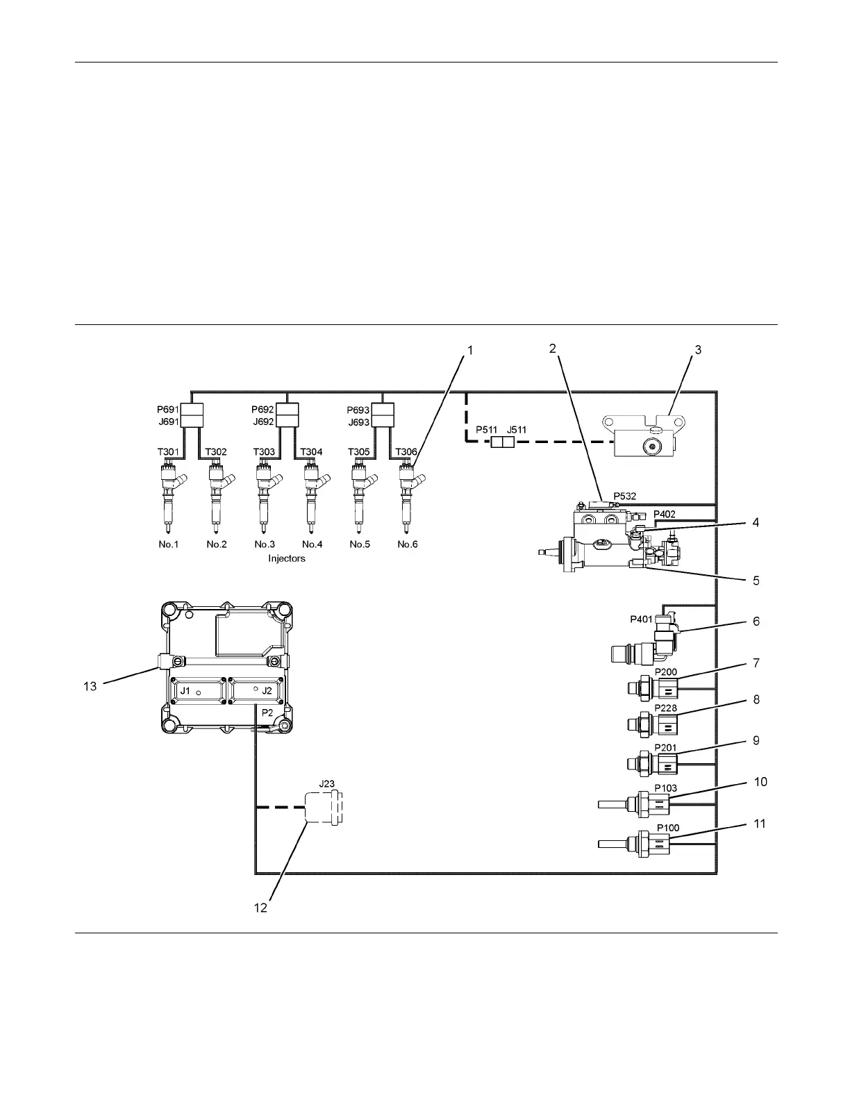
g01178531
Illus
tration 1
(1) Electronic Unit Injector
(2) Solenoid for the Fuel Rail Pump
(3) Wastegate Regulator (if equipped)
(4) Secondary Speed/Timing Sensor
(5) F uel Rail Pump
(6) Primary Speed/Timing Sensor
(7) Intake Manifold Pressure Sensor
(8) Fuel Rail Pressure Sensor
(9) Engine Oil Pressure Sensor
(10) In take Manifold Temperature Sensor
(11) Coolant Tempe rature Sensor
(12) Diagnostic Connector (if equipped)
(13) E lectronic Control M odule (ECM)

Table of Contents

Related product manuals