EasyManua.ls Logo

Perma PRO 500 - Page 4

Perma PRO 500
80 pages
Print Icon
To Next Page IconTo Next Page
To Next Page IconTo Next Page
To Previous Page IconTo Previous Page
To Previous Page IconTo Previous Page
Loading...
45
7
5
6
6
.5
6
.5
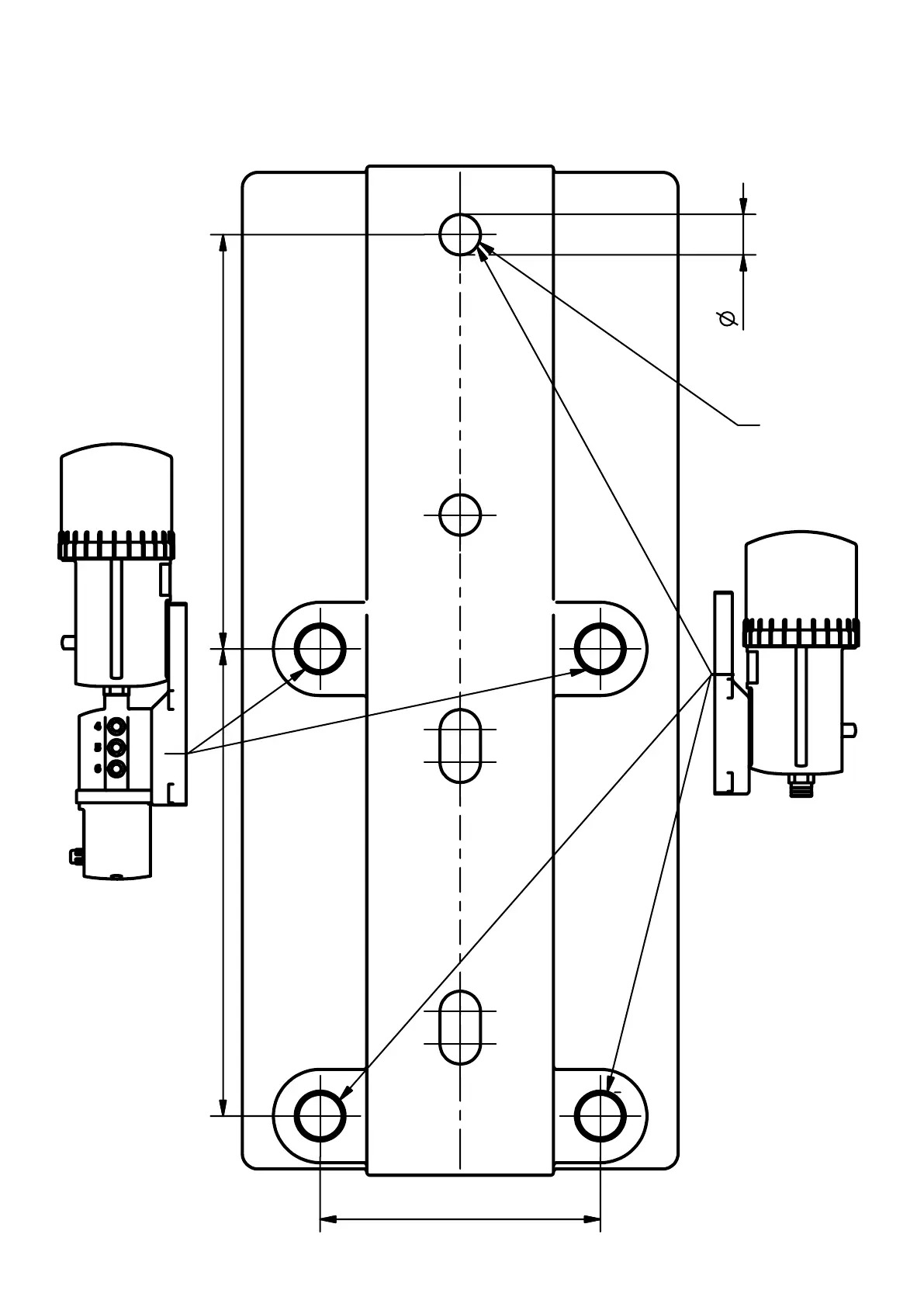
Drilling template
ScrewsM6
2xFastingpoints 3xFastingpoints

Table of Contents

Other manuals for Perma PRO 500

Related product manuals