EasyManua.ls Logo

Piazzetta P950 - Using an external flue; Prevention of domestic fires

Piazzetta P950
52 pages
Print Icon
To Next Page IconTo Next Page
To Next Page IconTo Next Page
To Previous Page IconTo Previous Page
To Previous Page IconTo Previous Page
Loading...
English
12
PRESA D'ARIA ESTERNA CON
GRIGLIA NON RICHIUDIBILE
d
DT2030341-00
Fig. 23
1
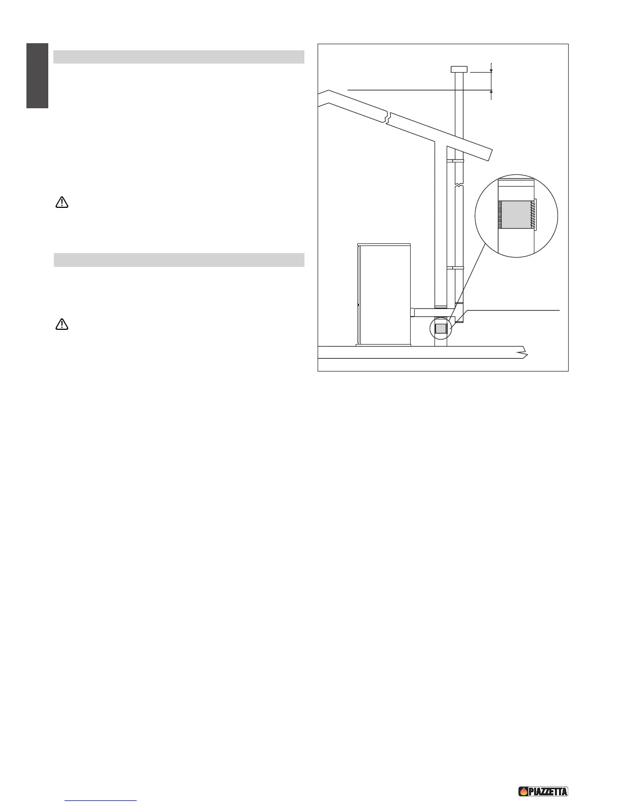
.11 Using an external flue - Fig. 23
An external flue can be used provided it complies with the following
requirements:
- use only insulated stainless steel pipes (double-lined) fixed to the
outside wall of the building (Fig. 23);
- there must be an inspection opening at the base of the flue to permit
periodic checks and maintenance;
- the flue must be fitted at the top with a chimney stack with down-
draught cowl, also ensuring compliance with the safety distance from
the roof ridge as outlined in the section entitled
Ensure that all installation work is carried out to professional
standards.
1.12 Prevention of domestic fires
The product must be installed and used in compliance with the
manufacturer’s instructions and European and national standards as
well as local regulations.
when a flue pipe passes through a wall or a ceiling, special
installation methods must be applied (protection, thermal
insulation, distances from heat-sensitive materials, etc.) See
the paragraph “Connection to the flueway
- It is also recommended that all elements made of combustible or
inflammable material, such as beams, wooden furniture, curtaining,
flammable liquids, etc. be kept outside the heat radiation range of the
stove and in any case at a distance of at least 1m from the heating
block.
- For other information, see the paragraph Safety distances and
Connection to the flueway”.
- The flue pipe, chimney stack, chimney and fresh air intake must
always be free of obstructions, clean and checked periodically, that is,
at least twice during the seasonal period from the lighting of the stove
and during its use. When the stove has not been used for some time
it is advisable to carry out the checks mentioned above. For further
information, consult a chimneysweep.
- Only use recommended fuels (See paragraph “Fuels”).
Fresh air intake with
non-closable grille

Table of Contents

Related product manuals