EasyManua.ls Logo

Piazzetta P950 - Minimum safety distances; Flueway

Piazzetta P950
52 pages
Print Icon
To Next Page IconTo Next Page
To Next Page IconTo Next Page
To Previous Page IconTo Previous Page
To Previous Page IconTo Previous Page
Loading...
English
9
1
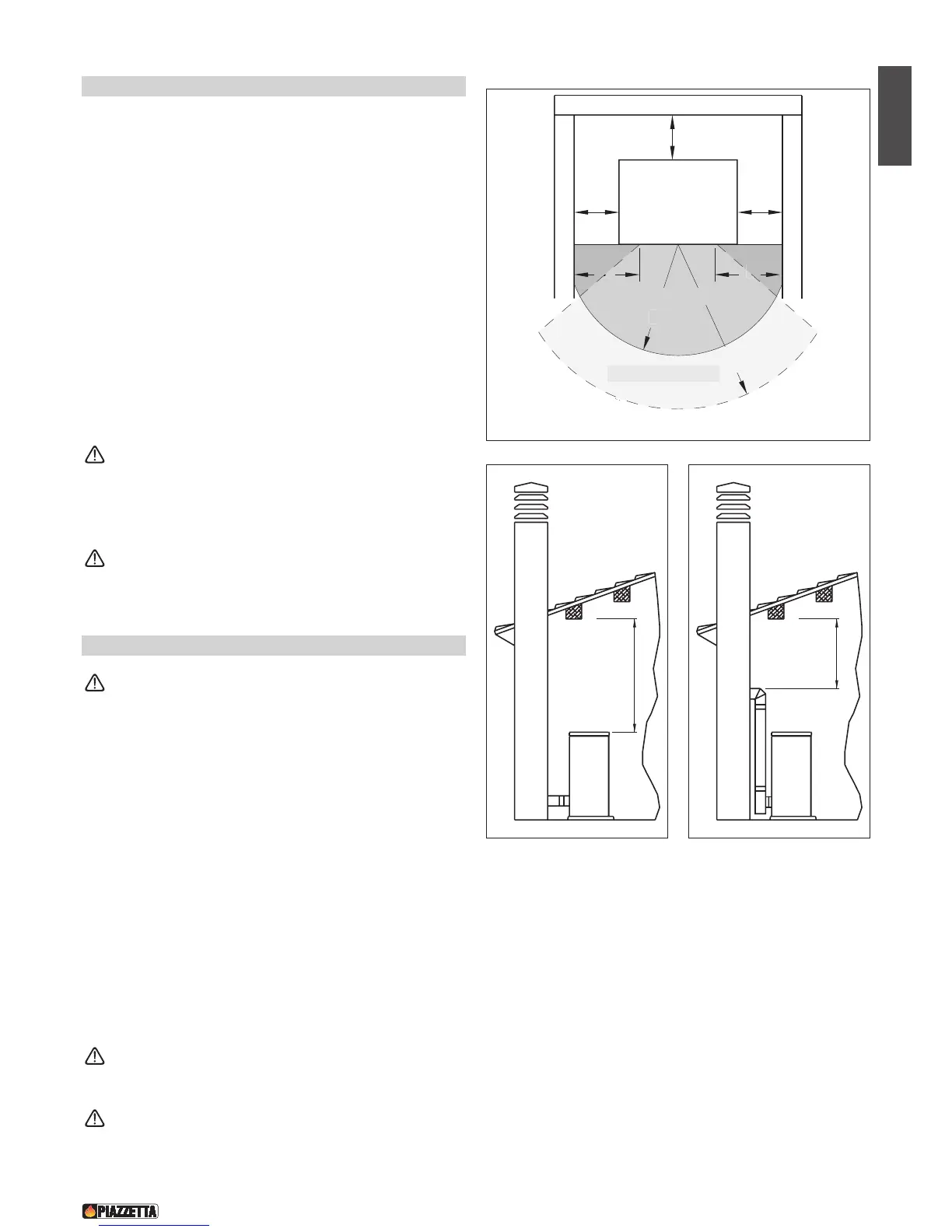
.8 Minimum safety distances - Fig. 16/18
First of all decide the exact position for installation of the stove.
Check the minimum safe distances from heat sensitive or inflammable
materials, from load bearing and other walls and also from wooden
elements, furniture, etc.
The minimum distances are:
A 20 cm from the wall behind the stove
B 20 cm from the side wall
C 80 cm in the heat radiation area and from the hot air fan
In the case of flooring that is heat sensitive or inflammable the floor
should be protected with non-combustible insulating material, e.g. sheets
of steel plate, marble, tiles, etc.
The minimum distances are:
D 50 cm;
E 30 cm (measured from the internal corner of the door opening).
Keep any combustible product well away from the stove when it
is lit (minimum distance from the heat radiation area), for
example: wooden furniture, curtains, carpets, combustible liquids,
etc.
It is advisable to leave more than the indicated 20 cm free at the
side of the stove to facilitate any maintenance on the appliance.
1.9 Flueway - Fig. 19-20
The pellet stove is not the same as other stoves. It has a forced
draught of flue gas by a fan, which keeps the firebox in a
vacuum and the entire flueway slightly pressurised. For this
reason the flue must be completely airtight and correctly
installed to ensure both trouble-free operation and user safety.
- The flueway must be made by specialised personnel or firms, as
outlined below.
- The flue must be installed in such a way as to guarantee that periodic
cleaning can be carried out without dismantling any parts
whatsoever.
- Pipes should always be sealed with silicone (not cement-based
sealants) or specially adapted gaskets/seals, which retain their
strength and elasticity at high temperatures (250°C), and should be
fixed with 3.9 mm ø self-tapping screws.
Do not install dampers or valves that could block the passage
of flue gas.
Do not connect to a flueway into which other appliances
(boilers, extractor hoods, etc.) discharge fumes or vapours.
MIN 40 cm
DT2030335-00
Fig. 17
MIN 40 cm
DT2030336-00
Fig. 18
Z
o
n
a
r
a
d
i
a
n
t
e
d
e
l
l
'
a
p
e
r
t
u
r
a
d
e
l
f
o
c
o
l
a
r
e
P
arete posteriore
P
rotezione a pavimento
P
rotezione a pavimento
P
rotezione a pavimento
A
B
B
E
E
E
D
C
STUFA
Parete laterale
Parete laterale
E
E
E
DT2030059-01
F
ig. 16
Rear wall
Floor protection
Heat radiation area
Side wall
Side wall
STOVE

Table of Contents

Related product manuals