EasyManua.ls Logo

Planmeca PlanMill 60 S - Coolant Lubricants

Planmeca PlanMill 60 S
114 pages
Print Icon
To Next Page IconTo Next Page
To Next Page IconTo Next Page
To Previous Page IconTo Previous Page
To Previous Page IconTo Previous Page
Loading...
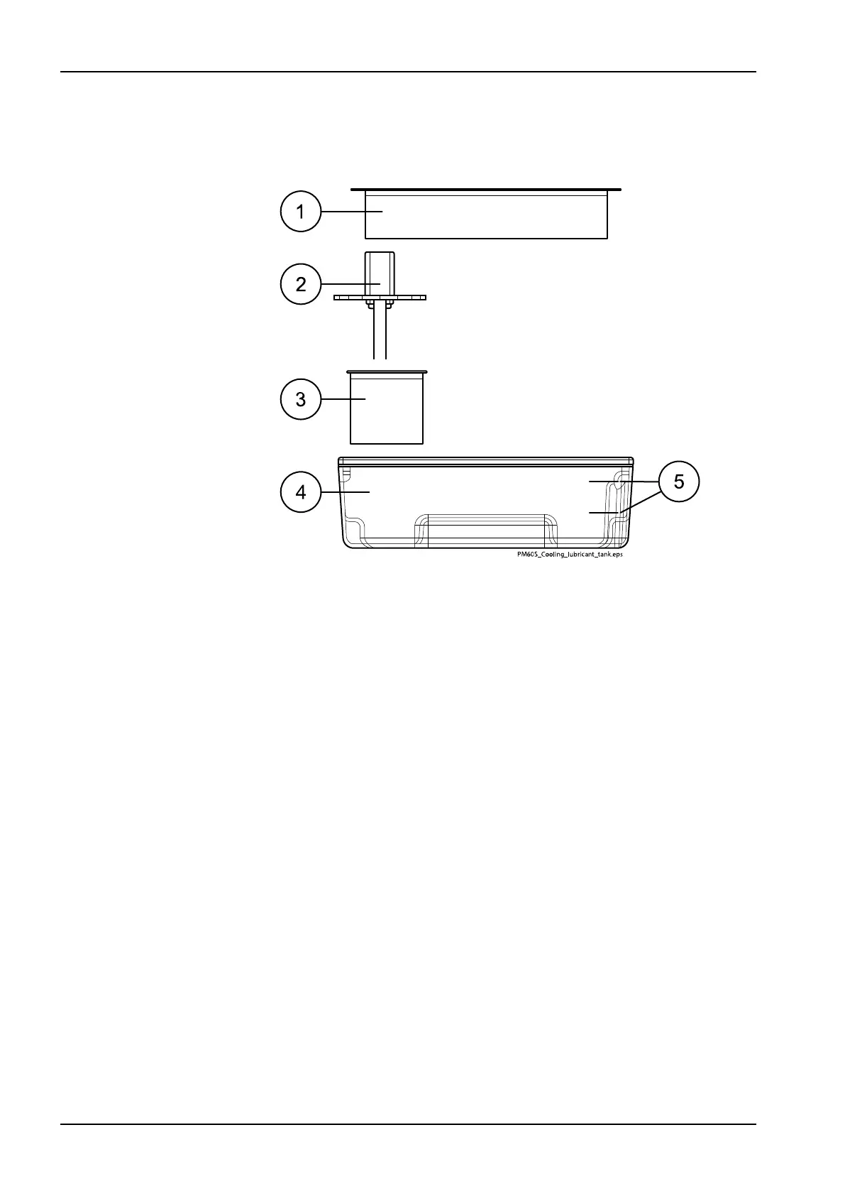
sieves filter milling dust from the used coolant lubricant and clean the liquid
so that it can be used again for cooling and lubrication.
Check the level of coolant lubricant before each wet processing run. The fill
level must be within the level indicator.
1 Sieve for filtering incoming liquid
2 Pump connection with cover
3 Sieve for filtering outgoing liquid
4 Tub
5 Fill level indicator (min - max)
9.6.2 Coolant lubricants
Only use coolant lubricants approved by Planmeca for material processing
with a coolant lubricant system. The coolant lubricants used by Planmeca
are optimally tailored to the requirements of the milling unit and guarantee
a seamless processing sequence. To ensure intended use, storage and
disposal of the coolant lubricant be sure to read the respective safety data
sheet issued by the manufacturer. The coolant lubricants must be stored in
the containers supplied and intended for this purpose.
Always observe the legal regulations and safety data sheets when handling
coolant lubricants. The milling unit user must ensure that the cooling
lubricants are handled, stored and disposed of correctly.
When using cooling lubricants, always ensure sufficient ventilation!
9 Planmeca 60 S milling unit
32 Planmeca PlanMill 60 S User's manual

Table of Contents

Related product manuals