EasyManua.ls Logo

Regency 4720 - Internal Speaker Wiring; Model 4180 Status Relays

Regency 4720
100 pages
Print Icon
To Next Page IconTo Next Page
To Next Page IconTo Next Page
To Previous Page IconTo Previous Page
To Previous Page IconTo Previous Page
Loading...
Regency
®
Model 4720 Control/Communicator Installation Manual (P/N 150476, Rev. A) Revised 10/98
37
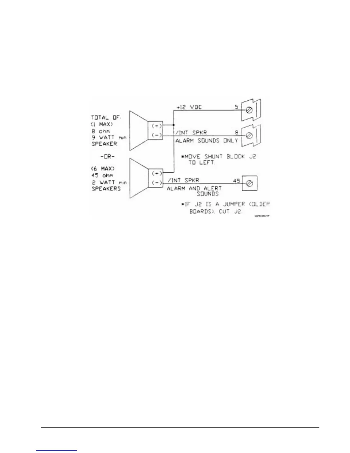
10.4 Internal Speaker Wiring
If an internal speaker is to be used such as in a touchpad, it must be connected between Terminal 5
(auxiliary power, speaker +) and Terminal 8 (speaker –). The 4720 was designed for use with an 8-, 9-W
internal speaker or up to six 45-, 1-W speakers.
If you wish to have alarm sounds only on some speakers, then cut Jumper J2 (move shunt block to the left/
“out” position). After doing so, speakers connected to Terminal 8 will produce alarm sounds only, but
speakers connected to Terminal 45 will still produce both alarm and alert sounds.
Figure 10.4a: Internal Speaker Wiring
10.5 Model 4180 Status Relays
See the Model 4180 Status Display Module Wiring Instructions (P/N 150445) for information on how to
install the Model 4180. Be sure to maintain a physical separation of at least one half inch between the field
wires and the Model 4180 connection points. This will prevent transient damage to the Model 4180
connection points.

Table of Contents