EasyManua.ls Logo

Regency 4720 - Telephone Line Connection and Monitoring; Basic Line 1 Wiring and Ground Start

Regency 4720
100 pages
Print Icon
To Next Page IconTo Next Page
To Next Page IconTo Next Page
To Previous Page IconTo Previous Page
To Previous Page IconTo Previous Page
Loading...
38
Regency
®
Model 4720 Control/Communicator Installation Manual (P/N 150476, Rev. A) Revised 10/98
11 Telephone Line Connection
11.1 Line 1 Wiring
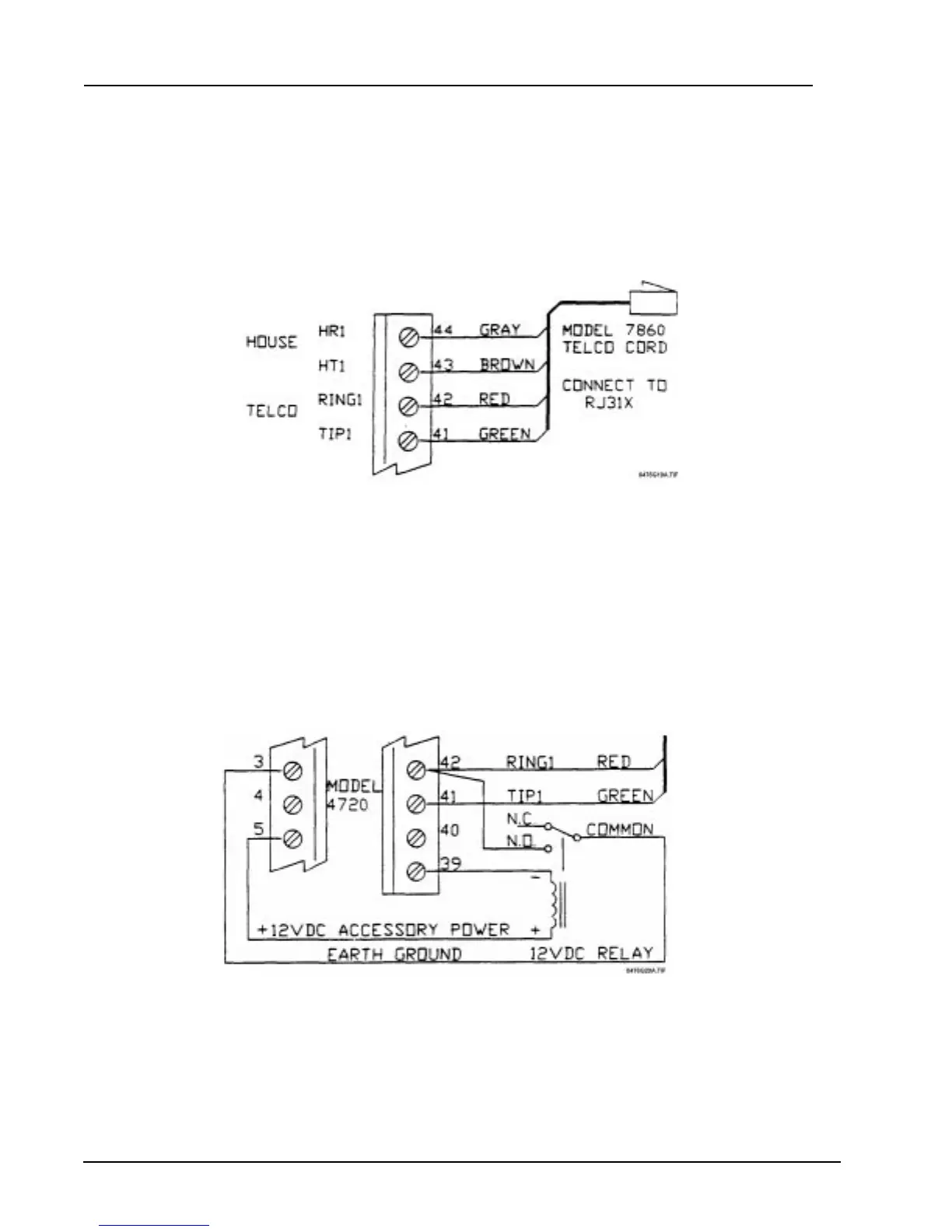
The Model 4720 communicates to the central station over the same telephone line already installed in your
home or building. You should connect the Model 4720 to the phone line using an RJ31X type phone jack.
The telephone company will install an RJ31X jack upon request. The Model 7860 connecting cord will
mate to the RJ31X and can be wired into the Model 4720 as shown in Figure 11.1a below.
Figure 11.1a: Telephone Line Wiring
11.2 Ground Start Relay Wiring
The Model 4720 normally communicates to the central station over standard “loop start” telephone
networks. In some instances, it may be necessary to communicate over “ground start” telephone networks.
Ground start networks require a momentary connection between one side of the telephone line and earth
ground to enable dial tone. The Model 4720 will accommodate ground start trunks with the addition of a 12
V
DC
relay. Figure 11.2a shows the wiring of the Ground Start Relay. If you use the Ground Start feature you
must select it when programming the EEPROM.
Note: In a UL installation, a ground start telephone network may not be used because it cannot be supervised.
Figure 11.2a: Ground Start Relay Wiring

Table of Contents